映维日报:4.2万台PICO头显落地美国课堂,苹果专利分享XR动态邻近边界检测系统
本日报由AI生成,可能存在信息错误,具体可查看原文。


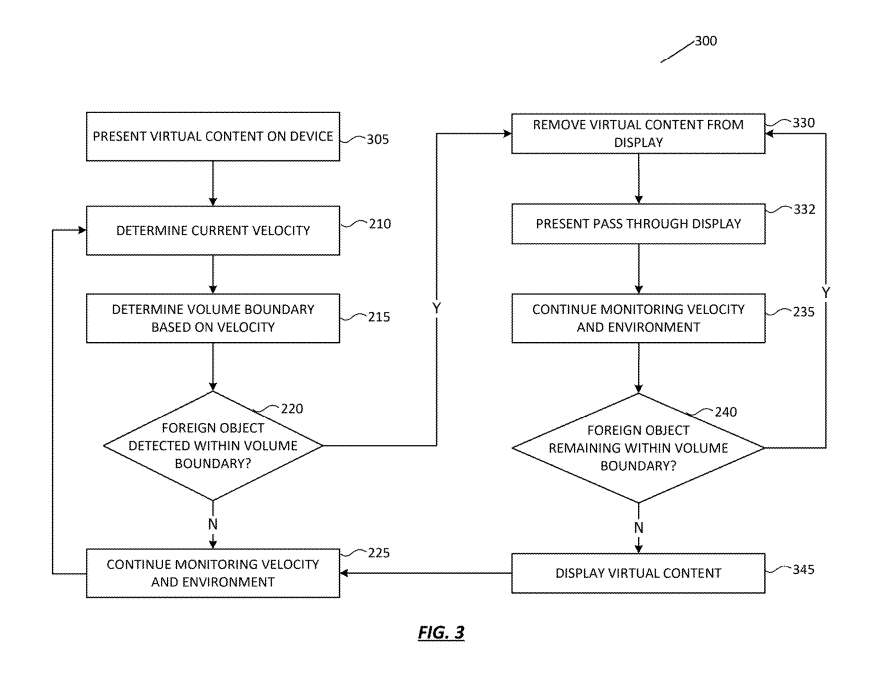
苹果在 2025 年 6 月提交、2026 年公布的专利申请中,设计了一套 XR 设备动态邻近边界检测系统,解决用户沉浸虚拟内容时感知物理环境不足易发生碰撞的问题。该系统通过传感器数据监测用户 / 设备的速度和方向,据此动态调整围绕用户的安全边界体积,速度越快边界可越大或沿运动方向扩展,边界形状可规则或不规则、中心点可基于设备或用户身体部位。系统持续检测物理物体是否进入动态边界,若检测到则启动多层次通知程序,可根据物体相交特征选择视觉处理(淡化虚拟内容、显示真实物体等)、音频或触觉提醒等通知类型,还能基于身体跟踪数据以身体部位为原点生成动态边界,且在执行通知程序时持续监测速度和物体,物体离开边界后便停止通知程序。
◐ 谷歌提出 AR/VR 设备 IMU 温度偏差补偿与空闲校准方法

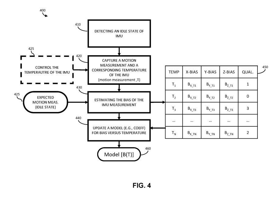
谷歌在专利申请中提出针对 AR/VR 设备惯性测量单元因温度变化产生测量偏差的解决方案,通过设备空闲时建模与动态校准补偿偏差,结合实时温度监测和自适应模型更新提升追踪精度与稳定性,且不会干扰用户使用。该方案先通过电池充电状态、摄像头图像、IMU 测量值等方式检测设备空闲状态,再捕捉此时 IMU 的运动测量值和对应温度,还可通过电池充电、运行计算进程控制 IMU 温度以获取多温度下的数据;随后基于空闲状态预期测量值估计偏差并记录在热表,结合插值等方式更新偏差与温度相关模型。设备处于活动状态时,捕捉 IMU 运动测量值并测量其温度,通过模型计算对应偏差估计值,对测量值做校正处理,校正后的数据可用于运动追踪,还能结合摄像头图像采集的测量值进一步提升运动追踪效果。

荷兰阿姆斯特丹大学医学中心的医生借助混合现实技术,通过特殊 “导航眼镜” 完成了一台脑部积液引流手术,院方计划后续更广泛应用该技术并研究其对手术精准度的提升作用。这类脑部引流手术常因引流管位置不准导致 20% 的患者需二次手术,该院团队开发的混合现实技术会先对患者大脑做三维建模,此次手术中医生还能通过头显在操作时看到大脑全息影像,该技术能帮助医生精准定位,主刀医生将其比作行车时可实时查看的导航系统。医院后续会在更多脑部手术中应用该技术,并系统评估其降低手术误差、减少二次手术发生率的效果。
◐ 4.2万台PICO头显落地美国课堂,沉浸式学习成效获系统性验证

截至 2026 学年末,4.2 万台搭载 Prisms 数学与科学内容的 PICO 头显已落地全美课堂,VR 教学平台 Prisms 进入全美 233 个学区,服务超 27 万名学生,沉浸式技术在美基础教育领域实现规模化价值落地,如佛罗里达州布劳沃德县已实现 VR 教学中学全覆盖。相关随机对照试验和学区评估显示,使用该 VR 学习方案的学生学业成绩显著提升,课堂参与度等学习状态也明显改善。Prisms 的 VR 教育方案具备化抽象为可感知、高危场景零风险训练、打破时空限制等优势,而硬件成本下降、5G 铺开等因素推动 VR 成为美国课堂常态化教学工具,多州还将沉浸式学习纳入规划并设专项采购基金,PICO 也认可 VR 技术在教育领域的规模化价值创造。
◐ Kellanova用PICO培训员工对全渠道购物旅程的理解

休闲食品品牌 Kellanova 和沉浸式学习解决方案提供商 Roundtable Learning 展开合作,推出了基于 PICO 4 Ultra Enterprise 头显的虚拟现实培训项目,打造出高仿真的全渠道购物旅程场景。该项目让员工以第一人称视角体验完整购物过程,感知跨渠道触点衔接逻辑并接受实时评估,相较传统培训方式,能让员工共情式理解消费者的购物动机与痛点,从根本上提升对顾客旅程的认知。面对消费者行为复杂化、全渠道零售普及的行业现状,食品行业对优质员工培训的需求攀升,Kellanova 的这一举措实现了以第一人称洞察为核心的 XR 学习模式,助力企业向更以客户为中心的方向发展。
◐ PICO VR方案实现12分钟缓解晕船,零副作用技术获海事领域应用

PICO 超 350 台头显设备应用于航海、国防等作业中,新西兰的 See-LEVEL 以 PICO G2 4K 和 G3 4K 头显为基础,研发出可 12 分钟缓解晕船症状且零副作用的系统,推动航海舒适性与人员健康管理进入科技新阶段。See-LEVEL 因海事环境的严苛要求选择 PICO 头显,原因是其能满足企业级需求,而其他设备存在短板,PICO 还提供了全系统管控、企业级管理工具等多方面的完整工具链,硬件也具备军用级耐久性。双方打造的该解决方案是即开即用的标准化平台,已成解决实际工作痛点的生产力工具,未来团队还将推动相关 VR 解决方案在海洋及更广泛工业领域的应用。
◐ 聊城市社会福利服务中心12万招标儿童部VR科普安全教育设备

聊城市社会福利服务中心发布公告,计划以 12 万元国有资金招标儿童部 VR 科普安全教育设备,项目编号为 ZNZB2026-H-001,仅设 1 个标段,招标方式为其它方式。公告明确投标人需具备有效营业执照且有供货能力,本项目不接受联合体报价和投标;同时公布招标文件需在 2026 年 2 月 2 日至 6 日现场获取,获取时需提交指定报名资料,投标文件递交及项目开标时间均为 2026 年 2 月 10 日 15 时 00 分,地点均为聊城市正圆招标拍卖有限公司开标室,且该项目无监督部门。此外,公告还公示了招标人和招标代理机构的详细地址、联系人及联系方式等信息。

Meta 在 HorizonOS v85 PTC 版本中测试两项关键新功能,一是仅适用于 Quest3 的 Surface Keyboard 表面键盘实验性功能,可将桌面等任意表面叠加为虚拟键盘,解决 XR 设备无蓝牙键盘时的文本输入难题,该功能操作需校准,在主空间显示且输入体验优于浮动虚拟键盘,这项技术是 Meta 研究超六年的成果,或与 2024 年相关研究有关,Quest3 用户可在高级设置中找到该功能,暂未得知未向 Quest 3S 开放的原因;二是为 Quest 3S 带来专属的功能键重新映射功能,此前该设备的功能键仅能实现切换透视模式的单一作用。同时文中提及 PTC 作为 Quest Horizon OS 的测试版渠道,其功能与最终稳定版本可能存在差异。

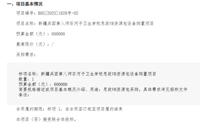
新疆兵团第八师石河子卫生学校发布公告,计划以 60 万元预算采购思政 VR 资源包设备,项目编号为 B8S [2025] 1828 号 - 02,仅设 1 个标项且不接受联合体投标。公告明确申请人需满足政府采购法相关规定,项目专门面向中小企业预留采购份额,还设置了相关信用等其他资格要求;潜在投标人需在 2026 年 2 月 9 日前于政采云平台线上免费获取招标文件,于 2026 年 2 月 27 日 11:00 前通过政采云投标客户端递交电子投标文件,开标时间与投标截止时间一致,开标地点为石河子市指定地址。公告期限为发布之日起 5 个工作日,还补充了网上投标相关操作要求,同时公示了采购人和采购代理机构的地址、项目联系人及联系方式等信息。

2026 年春节期间,美团酒店与 PICO 跨界合作,自即日起至 2026 年 3 月 31 日,在杭州、成都、沈阳三地的精选酒店推出 “VR 沉浸式过年” 限定体验活动,入住杭州城中香格里拉、成都希尔顿、沈阳世贸希尔顿的宾客可体验 PICO 4 Ultra 一体机,部分宾客还能获赠限量的 PICO 大空间体验门票。此次合作借助 VR 技术的沉浸式特性丰富了酒店住客的娱乐选择,为传统春节注入新活力,美团酒店借此打造了更具趣味和记忆点的住宿体验,PICO 也通过线下体验让更多人轻松接触和了解 VR,用户可打开美团 App 预订参与活动的酒店解锁相关 VR 体验。
◐ Meta分享:多模态AI智能眼镜如何改变你感知世界的方式

Meta 的多模态 AI 智能眼镜融合听觉、视觉与人工智能,实现所见即所问的交互方式,成为延伸用户感知的智能界面,其在 Ray-Ban Meta 和 Oakley Meta 系列中,通过多麦克风阵列、高分辨率摄像头、开放音频扬声器协同工作,处理视觉和音频等多模态输入信号理解环境并回应问题。该智能眼镜拥有四大日常实用益处,支持多语种实时双向语音和文本转译,还能借助手势控制,可即时提供按需帮助,关联多类实时输入并保留对话上下文,适用于旅游、烹饪、运动等多种场景,也能通过语音或手势实现私密且环境响应式的音频播放,同时提供免提导航和环境感知功能,后者部分功能暂仅对选定城市用户开放。此外,该智能眼镜兼具时尚设计与先进智能,多款产品能无缝融入生活,重构了用户与周围环境的互动方式。
◐ 谷歌Project Genie打造实时可探索虚拟世界,预示VR未来图景

谷歌 DeepMind 去年 8 月发布的第三代 Genie 系统相关实验性原型 Project Genie 现已开放体验,该原型并非 AI 游戏机,用户可通过网页界面,借助文本提示词或参考图像,分环境、角色、初始外观三个维度创建、探索和修改交互式虚拟环境,目前仅面向美国 18 岁以上谷歌 AI Ultra 订阅用户逐步开放,未来计划扩大受众,不过该系统作为早期研究产品,存在物理规律不符、角色控制不稳等诸多局限。现阶段将该功能落地 VR 头显仍面临多重障碍,核心挑战是云串流的延迟问题,且 VR 头显对渲染和输入延迟的标准更严苛,同时还需解决立体视觉渲染、系统世界生成易偏离提示等问题,短期内难见 VR 版本。但该原型让人们看到 AI 生成 VR 世界的未来可能,未来其或与脑机接口技术结合,打造出更逼真的虚拟现实,还可应用于外语学习、虚拟游览等场景。
◐ 2026年01月31日美国专利局新申请AR/VR专利摘选

映维网整理了近期美国专利及商标局公布的全新 AR/VR 相关专利,这些专利涉及 PICO、Meta、苹果、三星、高通等多家企业,专利技术方案覆盖 VR 眼镜结构、头显的适眼距和瞳距调节、光学组件设计、眼动追踪、手势识别、AR 眼镜物联网应用、注视点渲染、虚拟体验匹配等多个 AR/VR 相关技术领域,各专利均披露了对应的技术实施细节。

