2026年01月31日美国专利局新申请AR/VR专利摘选
文章相关引用及参考:映维网Nweon
一共更新了36篇专利。
(映维网Nweon 2026年01月31日)近期美国专利及商标局公布了一批全新的AR/VR专利,以下是映维网的整理(详情请点击专利标题),一共36篇。更多专利披露请访问映维网专利板块https://patent.nweon.com/进行检索,你同时可以加入映维网AR/VR专利交流微信群(详见文末)。
1. 《PICO Patent:VR Glasses(PICO专利:VR眼镜)》

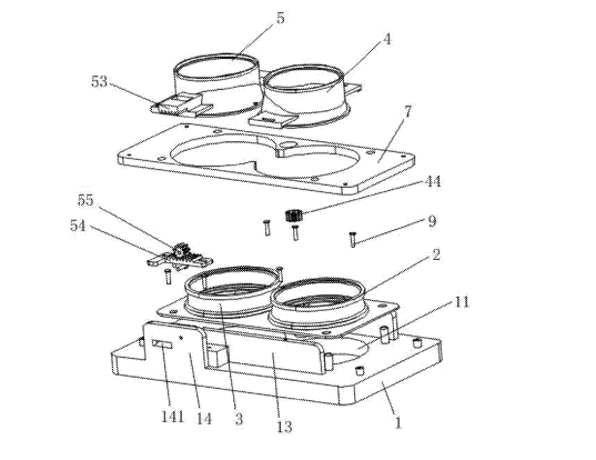
在一个实施例中,专利描述的VR眼镜包括:底板,底板上对称设置有两个连通的透光孔;第一密封部和第二密封部,均由硅材料制成并固定在底板上,第一密封部与第二密封部分与两个透光孔的位置一一对应;以及第一透镜镜筒和第二透镜镜筒,第一透镜镜筒通过第一密封部分与两个透光孔中的一个连通,第二透镜筒通过第二密封部分与另一个透光孔连通,第一透镜筒和第二透镜筒配置为能够朝向彼此移动。

......(全文 6776 字,剩余 6441 字)
请微信扫码通过小程序阅读完整文章或者登入网站阅读完整文章
映维网会员可直接登入网站阅读
PICO员工可联系映维网免费获取权限

