映维日报: Meta XR专利提出可变刚度液体透镜,三星Galaxy XR可直接安装APK
本日报由AI生成,可能存在信息错误,具体可查看原文。

◐ 三星Galaxy XR提供USB-C接口,可以接入多种外设

三星Galaxy XR头显在右侧头带护盖下隐藏了一个全功能USB-C接口,支持连接以太网适配器、网络摄像头及复古游戏机等外设。与Meta Quest系列需共享供电接口、Apple Vision Pro需额外购买300美元开发者模块的限制相比,该接口因头显采用独立电池设计可专用于数据传输,体现了Android XR系统在外部设备兼容性上的实用性优势。
◐ 三星Galaxy XR可直接安装APK文件,支持Bootloader刷机

谷歌Android XR系统凭借三星Galaxy XR设备的默认支持侧载APK文件和无须开发者模式或PC辅助的安装流程,成为当前三大XR平台中开放性最高的系统。与苹果visionOS完全禁止侧载以及Meta Horizon OS需注册开发者并提供个人信息验证的严格限制相比,Android XR用户可直接通过浏览器下载并安装APK文件,甚至支持解锁Bootloader以实现系统级自定义。这一开放性差异可能影响未来消费者在平价Android XR与高端Horizon OS设备之间的选择,凸显了平台开放策略在XR生态竞争中的潜在重要性。

Meta提出一种新型液体透镜设计方案,通过可变刚度弹簧构件解决传统液体透镜在重力作用下产生的形变问题。该技术采用机电致动器调节透镜曲率,配合周边非均匀刚度弹簧支撑结构,实现在非致动状态下抑制重力下垂导致的柱面畸变,同时在致动状态下确保形成高质量球面光学表面。弹簧构件通过精心设计的刚度分布,在透镜周边不同区域提供差异化支撑力,兼顾了低棱镜失真与高光学性能。该方案特别适用于AR/VR设备等需要动态调焦的应用场景,相比传统均匀支撑结构可降低柱面畸变达50%,同时保持1屈光度的有效调节范围。

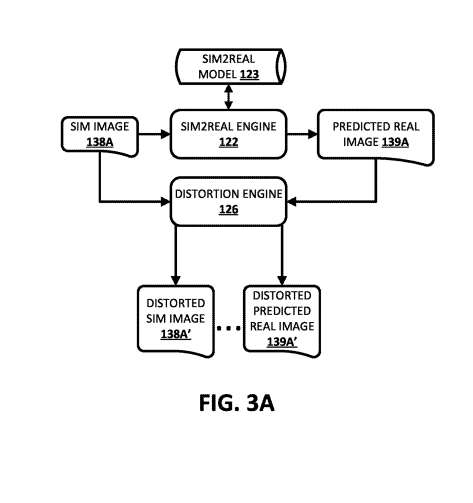
谷歌提出一种针对视觉基础机器人动作ML模型的训练方案,通过特征级领域自适应技术弥合模拟与真实环境之间的现实差距。该方法在训练过程中引入嵌入一致性损失和动作一致性损失,确保模型在处理模拟图像和对应预测真实图像时生成相似的特征表示和动作输出。系统利用Sim2Real和Real2Sim生成器进行图像转换,并结合失真技术增强数据多样性,通过多轮迭代优化模型参数。该技术允许在模拟数据上高效训练动作模型,同时保证部署到真实机器人时的准确性和鲁棒性,显著降低对物理机器人的依赖和训练成本。

微软提出一种针对远程渲染系统的图像合成方案,通过生成并传输无损编码的镂空蒙版来指导头显设备进行多层图像合成,有效避免因深度扩张和视频压缩导致的边缘伪影。该方法在远程计算机端对深度信息进行扩张处理以提高编码效率,同时基于原始深度生成精确的二进制蒙版标识有效像素位置;头显设备接收后利用蒙版指导合成过程,确保仅有效像素参与最终图像合成。该技术兼容多层渲染与重投影,显著提升远程渲染的视觉质量与传输效率,适用于AR/VR等低延迟应用场景。
◐ 内蒙古伊泰煤炭股份有限公司计划3000万采购VR培训教室设备

内蒙古伊泰煤炭股份有限公司发布公开招标公告,计划以3000万元自筹资金为塔拉壕煤矿采购VR培训教室设备。项目要求投标人为中国境内具备相关资质和业绩的企业,需提供近三年同类产品成功案例,且不接受联合体投标。招标文件通过伊泰智慧平台获取,投标截止和开标时间均为2025年11月13日9时,设备需在2025年12月15日前交付至鄂尔多斯指定地点。招标过程由内蒙古自治区机械设备成套有限责任公司代理,并接受内蒙古伊泰煤炭股份有限公司监督。

山东海事职业学院发布公告,计划以24万元预算采购VR教学一体机1台及裸眼3D设备1套。该项目要求投标人具备合法经营资质和供货能力,不接受联合体投标。招标文件可通过现场或线上方式获取,需支付300元工本费。投标文件需在2025年11月5日9时前递交至潍坊市丰泽项目管理公司开标室。项目资金来源为学院自筹资金,全程由山东沣泽工程项目管理有限公司代理招标,强调投标资料真实性并采用资格后审制度。
◐ 海林市职业教育中心28.65万招标建设国防教育VR数字资源

海林市职业教育中心发布公告,计划以28.65万元预算开展国防教育展馆VR数字资源建设项目招标。该项目要求投标人具备合法经营资质、良好信用记录,且不接受联合体投标。采购文件可于2025年10月24日至30日免费领取,投标文件需在11月3日14时前递交至黑龙江元汇项目管理有限公司。项目要求中标方在合同签订后30日内完成供货,并提供3年质保,交付地点为海林市职业教育中心。招标过程由黑龙江元汇项目管理有限公司代理,全程接受资格审查,重点防范利益关联和违规投标行为。

焦作煤业(集团)有限责任公司安全培训中心发布公告,计划以72.056万元拦标价建设焦煤安培中心VR培训教室项目,资金来源为自筹资金。该项目要求供应商具备独立法人资格及项目实施能力,不接受代理商或联合体参与。采购文件可通过中原云商平台获取,响应文件需于2025年10月30日11时前通过加密电子方式递交,并需缴纳2000元响应保证金。项目开标采用远程电子方式,中标人保证金在合同签订后退还。监督部门为焦作煤业招标监督组,全程接受合规性审查。
◐ 希腊色萨利大学提出无需相机参数的单目3D手部姿态估计方法

希腊色萨利大学与Moverse团队合作开发了一种从单张RGB图像估计3D手部关节的新方法。该方法通过MediaPipe提取2D关键点后,采用两阶段优化流程将MANO手部模型拟合至检测结果:第一阶段通过刚性变换建立粗略3D姿态,第二阶段结合指尖对齐损失与解剖学约束进行细化。实验表明,该方法在EgoDexter和Dexter+Object基准测试中达到与最先进技术相当的精度,且无需预先知晓相机参数即可处理真实场景图像。研究同时揭示了2D关键点检测精度对最终结果的重要影响,并通过蒙娜丽莎画像等案例验证了其在非结构化场景中的泛化能力。
◐ 上海交大等团队提出3D场景实时修复方法InstaInpaint

上海交通大学、加利福尼亚大学默塞德分校和新加坡科技设计大学联合提出InstaInpaint方法,通过基于参考的前馈框架实现3D场景实时修复。该方法利用自监督掩码微调策略训练定制化大型重建模型(LRM),能在0.4秒内根据2D修复提案生成3D修复结果,相比传统优化方法提速1000倍。实验表明,InstaInpaint在保持标准基准测试最优性能的同时,支持物体插入、多区域修复等灵活应用,解决了现有方法因依赖耗时优化导致的实时性瓶颈。研究团队通过设计跨视图一致掩码策略和端到端训练方案,有效提升了修复结果的几何一致性和纹理质量,为VR/AR中的交互式场景编辑提供了新方案。
◐ 西影无界携手小派科技发布定制化观影头显,共创全球首个XR影院系统

西影集团在西安XR电影产业基地举行的技术创新大会上正式发布“西影无界影院系统”,该系统与小派科技联名定制专属观影头显,集成手势追踪、眼球追踪和空间音频等技术,实现双目8K超宽视场角的电影级体验。头显重量仅180克,大幅提升舒适度和观影时长,配套智能座椅支持多场景交互。大会同时成立虚拟现实电影技术创新中心、西安市XR产业创新中心,并上线汉语电影AI辅助创作平台,响应国家政策推动虚拟现实电影商业化,构建覆盖技术研发、标准制定、产业孵化的全生态链,助力中国在全球XR影视领域抢占先机。

Meta宣布在Horizon平台推出NCT DREAM、STAYC和RIIZE等韩国流行乐团的系列虚拟演唱会,利用升级后的引擎技术提升并发支持能力和场景加载速度,为观众提供沉浸式近距离互动体验。该举措延续了平台此前引入BLACKPINK等顶级艺术家的内容策略,通过虚拟演出形式强化社交属性,使观众在参与过程中既能与好友共聚,也可结识新朋,共同构建娱乐社交新场景。

Meta Quest Store于2025年10月启动“秋季惊魂促销”,针对多款恐怖主题游戏及DLC提供高达50%的折扣,包括《亚利桑那阳光2》《生化危机4》《BEHEMOTH》等热门作品。活动旨在配合万圣节氛围,限时持续至北京时间11月3日14:59结束,用户可通过Meta Horizon Store购买,逾期优惠将永久失效。
◐ 谷歌旗下XR工作室推出“工作模拟器”风格MR体验,Android XR独占

谷歌旗下XR工作室Owlchemy Labs基于《工作模拟器》IP推出名为《Inside[JOB]》的混合现实体验,该内容为Android XR平台独占,目前仅支持三星Galaxy XR头显。该体验并非完整游戏,而是结合透视MR技术与手势追踪的交互式游乐场,允许玩家操控机器人角色在现实环境中完成维修等轻松任务。尽管Galaxy XR的高定价限制了其作为独占内容推动硬件销量的潜力,但该作品展示了Android XR在融合VR片段与现实交互方面的技术探索,为未来廉价XR设备普及前的生态建设提供参考。
◐ 2025年10月25日美国专利局新申请AR/VR专利摘选

美国专利及商标局于2025年10月公布36项AR/VR领域专利,涵盖硬件设计、交互技术、音频处理及系统优化等多个方向。Meta的专利涉及麦克风性能增强、光投影装置及多处理器界面渲染;苹果聚焦光模块结构、头戴设备机械设计及动态网格编码;谷歌与三星分别提出反射波导技术及可变曲率波导AR设备;Snap关注智能眼镜热管理、遮挡检测及音视频协同处理;高通则专注于3D音频渲染与动态缩放技术。这些专利共同体现了行业在提升设备性能、用户体验和系统集成度方面的技术进展,为下一代XR设备开发提供基础支撑。


