2025年10月25日美国专利局新申请AR/VR专利摘选
文章相关引用及参考:映维网Nweon
一共更新了36篇专利。
(映维网Nweon 2025年10月25日)近期美国专利及商标局公布了一批全新的AR/VR专利,以下是映维网的整理(详情请点击专利标题),一共36篇。更多专利披露请访问映维网专利板块https://patent.nweon.com/进行检索,你同时可以加入映维网AR/VR专利交流微信群(详见文末)。

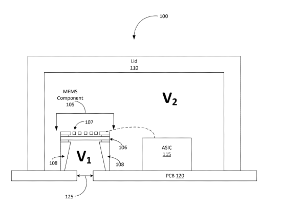
在一个实施例中,专利描述了一种微机电系统(MEMS)麦克风封装的系统与方法。MEMS麦克风封装可包括一个第一端口,用于将声音导向包含晶圆基板、声学膜片及一个或多个板件的MEMS系统。另外,所述封装同时可能包含一个根据电信号生成麦克风输出的专用集成电路、印刷电路板、盖板及一个第二端口。第一端口与第二端口分别界定前腔体与后腔体。第二端口可通过增大后腔体来提升灵敏度,并降低声学传感器的噪声基底以改善信噪比。
......(全文 6620 字,剩余 6296 字)
请微信扫码通过小程序阅读完整文章或者登入网站阅读完整文章
映维网会员可直接登入网站阅读
PICO员工可联系映维网免费获取权限


