映维日报:PICO启动2025双11狂欢季,日本Quest VR游戏工作室的生死转型
本日报由AI生成,可能存在信息错误,具体可查看原文。


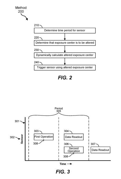
Meta公司提出了一种通过动态调整曝光中心和非对称时隙来提升传感器运行频率的技术方案。该专利允许传感器在保持原有功能的前提下,将运行频率从60Hz提升至90Hz或120Hz。系统通过动态计算每个传感器操作的最佳曝光中心位置,并采用非对称时隙分配方式,确保不同类型的传感器数据采集(如图像数据和外围跟踪数据)能在更高频率下完成。该技术可应用于AR/VR设备的传感器系统,专利最初于2022年12月提交申请。

日本VR游戏开发商MyDearest在2024年底面临旗舰项目搁浅危机后,从传统叙事驱动型3A游戏开发转向超休闲游戏领域。公司成立Bazooka Studio分部门,采用”单一概念冲击法”开发模式,将开发周期从数年缩短至两个月,并通过TikTok进行”万次观看测试”验证游戏概念。其作品《Devil’s Roulette》采用免费模式发布,依靠社区反馈驱动开发,在Discord和TikTok平台获得良好反响。公司针对东西方市场差异采取差异化策略,西方市场侧重社交混乱玩法,日本市场则通过VRChat进行沉浸式营销。转型后公司在8个月内发布9款游戏,实现了43%的商业成功率,证明了快速迭代和社区驱动开发模式在VR游戏领域的可行性。
◐ Rendever获美国国立卫生研究院近450万美元拨款,携手PICO革新老年社交与护理

专注于老年人沉浸式服务的Rendever公司获得美国国立卫生研究院近450万美元资金支持,其中380万美元将用于”居家康乐计划”,其余资金用于构建VR护理人员支持网络。该公司通过PICO 4和PICO G2 4k头显为老年人提供个性化深度体验,特别是在临终关怀领域帮助患者重温珍贵记忆、探索世界,并与亲友共享温情时刻。未来三年计划联合行业各方构建新一代社区基础设施,提升老年人社交健康与整体福祉。

PICO于2025年11月期间推出双十一促销活动,包含限时秒杀、专属优惠券、加购折扣及DLC捆绑包四大优惠形式。活动提供100款精选应用的6折优惠券,并在11月7日至16日每晚设置限时秒杀环节,支持多款游戏内容以半价捆绑包形式销售,活动截止时间为11月16日23:59。

南京大学研究团队开发出一种采用交流电驱动的纳米LED器件,通过单触点设计替代传统直流电双电极方案,显著简化了纳米级LED的制造工艺。该技术通过调控交流电频率优化光电转换效率,其300纳米厚纳米棒阵列结构有助于提升近眼显示设备的像素密度,为AR/VR头显等设备的显示清晰度提升提供了新的技术路径。
◐ Flat2VR Studios为索尼PSVR 2带来五款沉浸式作品

Flat2VR Studios宣布将于2025年11月在PSVR 2平台陆续推出四款沉浸式游戏:竞速游戏《VRacer Hoverbike》(已发售)、音乐节奏游戏《Audio Trip》(11月11日上线)、射击游戏《Roboquest VR》(11月20日发布)和解谜冒险游戏《Shadowgate VR: The Mines of Mythrok》(11月25日发布)。同时首次公开新作《Rager》,该作采用反传统音游设计,主打高强度战斗和首领战,计划于2026年发售。所有作品均针对PSVR 2的HDR显示、头戴震动及眼动追踪等特性进行了优化适配。
◐ 苹果推送visionOS 26.2开发者预览版23N5279e更新

苹果公司向开发者推送了visionOS 26.2系统的测试版更新(版本号23N5279e),注册开发者可通过设备设置中的测试版更新选项进行下载。苹果建议安装前备份数据,并支持在Xcode的visionOS模拟器中体验新系统功能。

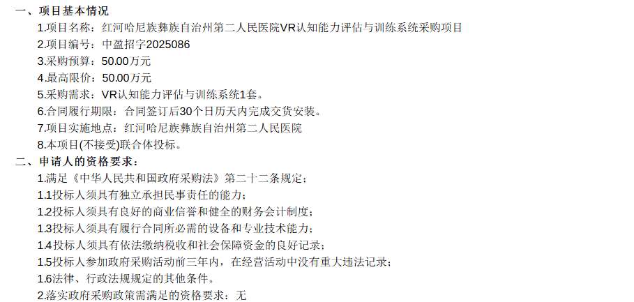
红河哈尼族彝族自治州第二人民医院发布采购公告,计划以50万元预算采购一套VR认知能力评估与训练系统,要求投标人具备医疗器械相关资质,项目不接受联合体投标。潜在供应商需在2025年11月25日14时前通过中盈远瞩政府采购云平台提交投标文件,合同履行期限为签订后30个日历天内完成交货安装。

云之龙咨询集团有限公司发布竞争性磋商公告,计划以22万元预算采购“一站式”学生社区VR室虚拟现实心理训练系统,该系统基于虚拟现实技术和系统脱敏理论开发,包含应激训练、心理放松等不少于10个功能模块。供应商需通过微信公众号平台购买采购文件,并于2025年11月17日前递交响应文件,项目要求供应商具备合法资格且未被列入失信名单,不接受联合体参与。

上海烟草集团有限责任公司天津卷烟厂发布招标公告,计划投资95.06万元建设VR安全体验中心,项目内容包括硬件设备采购和VR资源定制开发,要求投标人具备独立法人资格及相关资质。招标文件需在2025年11月11日前通过中烟电子采购平台获取,投标截止时间为11月25日9时30分,采用远程不见面开标方式。项目工期为合同签订后1个月内完成系统建设,主要设备包括5D-VR体感平台、虚拟消防灭火系统等,VR资源定制内容聚焦机械伤害和室内动火作业安全培训。


