映维日报:苹果专利用AR/VR校准家庭影院,xMEMS完成2100万美元D轮融资
本日报由AI生成,可能存在信息错误,具体可查看原文。


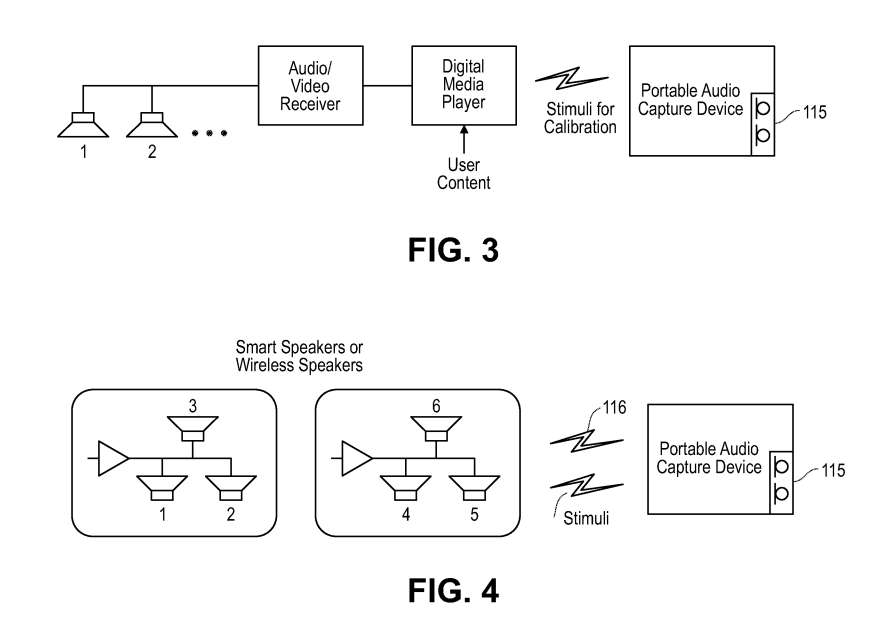
苹果公司在一项专利申请中提出利用AR/VR设备作为家庭影院校准工具的创新方案。该技术通过设备内置的麦克风阵列和传感器,能够快速测量房间声场并自动计算各扬声器的位置参数,摆脱传统校准方法对扬声器标准布局的依赖。系统采用一阶环绕声采集技术,可单次完成多声道测量,显著提升校准效率,并能根据实际房间声学特性生成包含延迟校正、均衡补偿和串扰消除的综合滤波器组。这一方案特别适用于非标准扬声器布局的家庭环境,为用户提供更灵活的音箱摆放选择和更精准的声场还原效果。

Snap提出一种用于XR设备的固定多焦点光学组件解决方案,通过双焦点或三焦点透镜在不同视区提供固定聚焦距离,分别对应近场和远场虚拟内容显示。该设计利用透镜不同区域的光学特性,使显示器上部内容呈现在远焦平面(如3-10米),下部内容呈现在近焦平面(如60-90厘米),模拟自然视觉的焦点转换。该方法无需动态调焦机制或眼动追踪系统,可减少视觉疲劳、功耗和硬件复杂度,同时避免图像平面移动导致的对比度损失和视觉不一致性问题。
◐ XR+机器人:探秘用头显远程操控的NEO如何重新定义家务活

机器人初创公司1X开发的人形机器人NEO目前主要依赖人类操作员佩戴Quest 3头显进行远程操控,通过演示教学来训练其神经网络掌握家务技能。该机器人重约30公斤,具备完成放置碗碟、取物品等基础家务的能力,但无法处理过重、过热或尖锐物品。创始人伯尼奇强调用户数据共享与性能提升的正相关关系,并预计2026年发货时能实现家庭环境自主操作。NEO定价2万美元或按月订阅500美元,现阶段演示仍显笨拙,远程操控存在延迟和灵活性限制,但其远程监控功能被视为潜在实用场景。
◐ xMEMS完成2100万美元D轮融资推进XR眼镜技术研发

微型扬声器和散热技术厂商xMEMS宣布完成2100万美元D轮融资,由Boardman Bay Capital Management领投。融资将用于加速其压电MEMS技术在XR眼镜领域的商业化进程,包括1.28毫米厚的Sycamore微型扬声器和µCooling固态风扇芯片的量产。这些技术解决了XR设备在音频输出和散热方面的关键挑战,有望为AI驱动的可穿戴设备提供更优解决方案。投资方认为xMEMS的技术将成为AI硬件时代的基础构建模块。
◐ VR动作冒险游戏《Arken Age》登陆Meta Quest平台

VR动作冒险游戏《Arken Age》正式在Meta Quest Store上线,售价29.99美元。该游戏以生物鸿沟为背景,提供基于物理的战斗系统、武器定制、攀爬探索等玩法,包含15小时以上的战役内容和无限重玩的无尽战斗模式。此前该作已在Steam和PS Store获得特别好评,现扩展至Quest平台。

经典潜行游戏《神偷》系列的VR新作《Thief VR: Legacy of Shadow》将于2025年12月5日正式发售,支持Steam、Meta Quest和索尼PSVR 2平台。该作由Eidos发行,玩家将扮演盗贼”喜鹊”在暴君统治的黑暗城市中通过潜行与盗窃手段获取传奇神器,并揭开城市背后的秘密。作为1998年首作的系列延续,本作以VR形式为玩家提供第一人称沉浸式潜行体验。

上海中医药大学发布公告,计划以40万元预算采购3D智慧铜人VR针刺技能考试教学设备,项目要求投标人符合政府采购法相关规定,未被列入信用中国失信名单,且不接受联合体投标。投标人需在2025年11月5日前通过沪港国际电子招投标交易平台上传营业执照、法定代表人授权书等材料并支付600元招标文件费用,投标截止时间为2025年11月19日14时。该项目需落实促进中小企业发展的政府采购政策,投标文件需递交至上海市徐汇区斜土路2364号上海沪港建设咨询有限公司。

蛟河市实验小学计划使用财政资金38.1万元采购VR教室设施设备,项目采用公开招标方式,要求投标人为中小企业且未被列入失信被执行人、重大税收违法案件当事人等记录名单,投标人需通过政采云平台获取招标文件并于2025年11月18日13时30分前提交投标文件。

吉林机械工业学校发布VR实训室建设项目招标公告,项目预算66万元,专门面向中小企业采购,要求投标供应商在政采云平台线上获取招标文件并于2025年11月21日13:30前提交投标文件,合同履约期限为签订后30天内完成供货安装调试。
◐ 康县公安局计划8.8万元建设周家坝镇区公安视频监控AR高点系统

中电万维信息技术有限责任公司陇南分公司发布二次公告,计划以8.8万元预算建设康县公安局周家坝镇区公安视频监控AR高点系统。该项目旨在通过AR技术提升社会治安防控能力,采购内容包括7台全结构化枪型网络摄像机、1台400万枪球一体机、1台AR全景高空瞭望云台及存储设备等。项目设置最高响应限价53097.34元(设备)和26415.09元(服务),要求供应商具备独立法人资格、增值税开票能力等资质,响应文件提交截止时间为2025年11月11日。项目资金已落实,将通过中国电信阳光采购网进行电子招投标。

泰州技师学院发布虚拟现实实训室建设项目二次公告,预算金额70万元,采用竞争性磋商采购方式,专门面向中小微企业。项目内容涉及虚拟现实、交互娱乐等课程教学设备建设,合同履行期限为30天,质保期不少于3年。供应商需通过“苏采云”系统获取文件并于2025年11月11日前提交响应文件,且不得被列入信用中国或中国政府采购网失信名单。项目采用不见面远程磋商模式,并明确对异常低价报价启动审查程序。


