映维日报:Magic Leap再获沙特2亿美元投资,Meta开放AR眼镜Aria Gen 2申请
本日报由AI生成,可能存在信息错误,具体可查看原文。

◐ 沙特主权基金向Magic Leap追加2.05亿美元投资,累计已超10亿美元

沙特公共投资基金(PIF)近期向持续亏损的AR企业Magic Leap追加2.05亿美元投资,使其累计注资超过10亿美元。Magic Leap作为曾经的科技独角兽,虽在2018年消费级产品失败后转型企业AR市场,并裁员80%,但仍未实现盈利。公司账目显示预计将在2025年和2026年继续获得资金支持以维持运营。值得注意的是,Magic Leap去年与谷歌达成合作协议,后者看中其光学技术优势,但具体合作细节尚未公开。目前Magic Leap和PIF均未就此次投资发表评论。
◐ 彭博社:M5版Vision Pro更新力度太小,几乎没必要为此升级

苹果低调发布了搭载M5芯片的新款MacBook Pro、iPad Pro和Vision Pro,彭博社马克·古尔曼指出此次更新仅为芯片升级,缺乏实质性改进。M5芯片性能较M4提升15%-20%,但实际使用差异不明显,现有用户无需升级。Vision Pro主要升级M5处理器和新款头带,但未解决高昂售价、重量偏大、内容生态不足等核心问题。苹果未改进透视摄像头效果,且新头带需单独购买。分析认为苹果正将Vision Pro转向企业市场,此次小幅更新反映出其对尚未成熟的头显市场持保守策略。
◐ Meta开放新一代AR眼镜项目 Aria Gen 2 研究申请

Meta正式开放新一代研究型眼镜Aria Gen 2的学术和商业申请通道,计划于2026年第二季度向合格申请者部署设备。Aria Gen 2升级了传感器套件、机器感知功能、续航及交互能力,并同步发布技术白皮书和试点数据集供研究者参考。初代Aria设备申请通道同日关闭,该项目自2020年启动以来已支持全球27个国家近300个实验室开展第一人称视角研究,推动人工智能、人机交互及机器人技术发展。申请者需研读技术文档并提交详细研究计划,Meta期待通过新一代设备进一步推动以人为本的人工智能创新。
◐ 江西省虚拟现实产业招商推介大会签约14个项目总金额38.7亿元

江西省在南昌举行虚拟现实产业招商推介大会,现场签约14个项目,签约总金额达38.7亿元。此次招商聚焦AI眼镜、VR大空间等新兴赛道,涵盖VR产业链终端、内容、关键器件等环节,签约项目涉及AR智能眼镜生产、新型显示硬件制造、AI医疗智能自动化产品生产等领域。截至2024年底,江西省已聚集超400家VR企业,2024年VR及相关产业营业收入达1100亿元,同比增长9.34%,2025年目标突破1200亿元。
◐ PICO美国企业业务负责人分享:2025年企业级VR市场需求与趋势

PICO美国及EMEA地区企业业务负责人李兰德·赫奇斯在接受访谈时指出,2025年企业级VR市场已形成培训、教育、医疗保健和线下娱乐(LBE)四大核心领域。企业客户需求呈现三大趋势:硬件需更轻便易用以降低使用门槛;技术需支持从VR向混合现实演进以扩展应用场景;需适应数字原生代员工的自然技术偏好。不同行业侧重点各异——培训领域关注投资回报率,医疗教育重视易集成性,LBE领域追求运营效率。PICO正通过构建包含硬件、内容、设备管理及服务的完整生态系统,并计划在2026年推出搭载高级传感器的新一代头显,以满足企业对端到端解决方案的需求。
◐ Phenomena优化PICO XR 4 Ultra Enterprise设备体验

Phenomena公司针对LBE VR市场发布了核心软件平台的重要更新Phenomena Connect服务,重点优化了PICO XR 4 Ultra Enterprise设备的使用体验。该更新通过提升启动器与VR头显间的通信效率,为运营商提供更快速、流畅且可靠的后台服务。同时,Phenomena Launcher进行了多项改进,包括修复设备显示问题、取消头显在位检测要求以降低游戏启动延迟,新增远程设备控制和多语言支持等功能,并完成了对《Tower Tag》游戏力反馈枪及bHaptics触感背心的集成支持,旨在为不同规模场馆提供更完善的VR电竞解决方案。
◐ PICO与Wild Immersion合作利用VR技术为困境儿童提供自然体验

PICO与Wild Immersion合作开展了一项社会公益项目,通过虚拟现实技术为医院及特殊机构的困境儿童提供沉浸式自然体验。该项目组织16-17岁的高中生志愿者定期陪伴患病儿童,使用PICO VR头显带领他们体验”与海豚共游”等虚拟自然场景。项目规模从2022年的40名志愿者覆盖15个地点,预计到2025-2026学年将扩展至140名志愿者服务50个地点,包括讷伊圣圣母研究所的儿童。这一倡议不仅拓展了教育边界,为志愿者提供实践机会,更重要的是为面临健康挑战的孩子们带来慰藉和快乐,体现了科技连接人心、促进社会福祉的价值。

谷歌在一项专利申请中提出了一种新型波导光学系统,通过在反射刻面波导内部组合多个图像源的光来提高AR/MR眼镜的显示亮度和均匀性。该技术采用分层设计的反射刻面结构,其中耦入器由多个反射式输入耦合刻面组成,每个刻面专门耦合特定波长或偏振态的光;而出瞳扩展器(EPE)则采用锯齿形轮廓的反射刻面阵列,通过精确控制各刻面的透射反射比实现光的均匀扩展。这种设计允许在不增加系统体积的前提下,通过波导内部的光路整合提升最终输出图像的亮度和均匀性,解决了传统设计中亮度与透视效果难以兼顾的问题。

Meta在一项专利申请中提出了一种基于眼动追踪的自适应透视渲染方法,通过动态调整深度网格类型来优化XR头显的透视图像质量。该技术利用眼动追踪数据确定用户注视方向和聚散点,根据用户注视对象的距离生成恒定深度的球形或平面深度网格,同时对外围区域采用可变深度网格或默认深度网格处理。系统能够根据用户运动状态(静止/旋转/移动)和环境深度特征,智能选择最适合的深度网格类型进行图像重投影,在保证注视区域高精度的同时,通过混合渲染策略平衡计算效率和视觉质量。这种方法有效解决了传统透视渲染中因深度估计不准确导致的图像伪影问题,同时降低了系统计算负载。

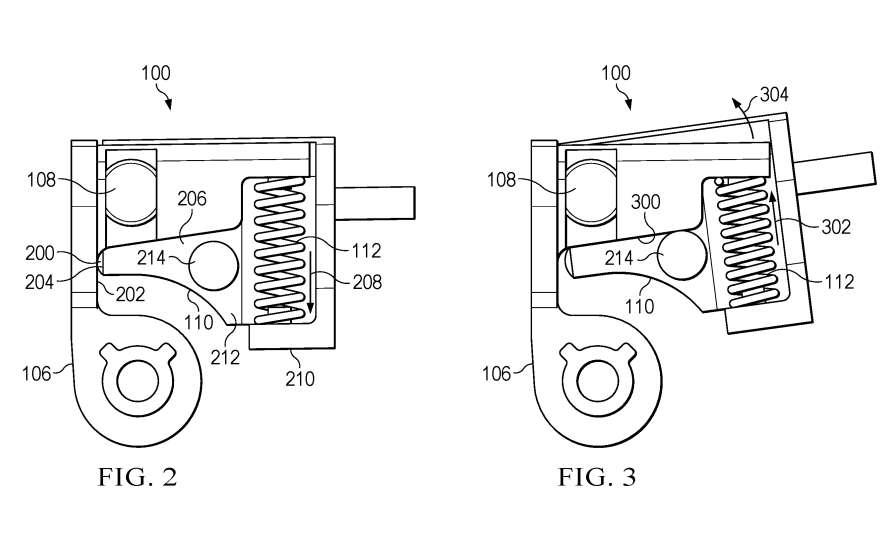
谷歌在一项专利申请中提出了一种用于头戴式设备的双轴铰链机制,旨在解决智能眼镜等设备中因左右波导角偏转过大导致的双眼视差问题。该机制包含第一铰链和第二铰链:第一铰链连接镜框和镜腿支撑结构,控制镜腿的开合转动;第二铰链通过弹性件和限位结构实现镜腿在过度屈曲方向上的独立运动,从而适应不同头部宽度并减少偏转。这种设计能够提升设备佩戴的舒适性和稳定性,同时便于柔性电路布线,有效降低双眼视差引起的不适感。

清华大学与字节跳动团队合作提出参数化高斯人体模型(PGHM),该框架通过整合人体先验知识到3D高斯渲染中,实现了从单目视频快速重建高保真人体化身。PGHM包含两个核心组件:UV对齐隐式身份图用于紧凑编码主体特征,解耦多头U-Net用于分离静态、姿态相关和视角相关的高斯属性。实验表明该方法仅需约20分钟即可完成单主体适配,在NeuMan和THuman等数据集上超越现有基线,在保持视觉质量的同时显著提升训练效率,为虚拟现实等应用提供了实用化解决方案。
◐ 北京大学团队提出神经声学传输方法实现动态场景实时声音建模

北京大学研究团队提出了一种名为Neural Acoustic Transfer(NAT)的神经声学传输方法,通过隐式神经表示对预计算的声学传输及其变化进行编码,能够实时预测不同条件下的声场。该方法开发了基于蒙特卡洛的边界元法近似算法和GPU加速版本,为神经网络训练提供数据支持,在动态场景中仅需数毫秒即可完成声音模拟,较传统方法提速数个数量级且精度更高。研究通过材料属性编辑、物体尺寸调整等场景验证了该方法的有效性,为虚拟现实、增强现实等交互应用提供了高效的声音建模解决方案。
◐ 合作市教育局79万招标学前智能3D沉浸式互动AR智慧教室建设项目

合作市教育局计划以79.02万元预算,通过公开招标方式为市三幼、市四幼及勒秀镇中心幼儿园各建设一间智能教育3D沉浸式互动AR智慧教室。项目要求投标人满足《中华人民共和国政府采购法》相关规定,并对小微企业、监狱企业及残疾人福利性单位产品给予10%的价格扣除优惠。潜在投标人需于2025年10月24日前通过甘南州公共资源交易网免费获取招标文件,并于2025年11月10日15:10前提交投标文件。

石家庄市公安局发布公开招标公告,计划以19.86513万元预算购置AR警用智能眼镜。该项目专门面向中小企业采购,要求投标人满足《中华人民共和国政府采购法》相关规定,明确了招标文件获取时间地点、投标文件递交截止时间为2025年11月7日,以及开标时间地点等具体信息,并规定合同履行期限为自签订之日起30日历日内完成交货。
◐ 千阳县燕伋望鲁台景区招标26万元开展VR国学六艺互动项目

千阳县燕伋望鲁台景区管理处发布招标公告,计划使用26万元其他资金开展VR国学六艺互动项目。该项目采用其他招标方式,不接受联合体投标,要求投标人具备独立承担民事责任的能力、良好的信用记录等资格,并明确了招标文件获取时间地点、投标文件递交截止时间为2025年10月27日,以及开标时间地点和项目监督部门为千阳县文化和旅游局。

中共鄂尔多斯市委员会统一战线工作部发布招标公告,计划使用国有资金49万元开展“暖城同心·统一战线沉浸式VR体验互动内容设计、制作及开发项目”,项目不接受联合体投标,投标文件需在2025年10月28日前现场递交至指定地点,并公布了招标人和代理机构的联系信息。
◐ 海看网络科技公司二次招标140万元制作济南景区历史名人VR内容

海看网络科技(山东)股份有限公司发布二次竞争性磋商公告,计划以140万元预算开展《济南标志性景区和历史名人VR内容制作》服务类项目。公告明确了供应商需满足的资格条件、采购文件领取方式及截止时间、响应文件提交与开标的时间地点等具体信息,并要求供应商通过指定渠道获取磋商文件参与投标。
◐ 石嘴山第二十二中学计划39万元建设理化生VR虚拟仿真实验室

石嘴山市第二十二中学发布招标公告,计划使用39万元国有资金建设理化生VR虚拟仿真实验室项目。该项目采用公开招标方式,专门面向中小微企业采购,要求投标人满足《中华人民共和国政府采购法》第二十二条规定,并在招标文件中明确了投标人资格要求、招标文件获取方式、投标文件递交截止时间为2025年10月27日15时,以及开标时间地点等具体信息。

Meta通过Growth Insights平台向游戏开发者发布指南,详细解析如何依据北美假日体系规划季节性游戏内活动。文章系统梳理了元旦、万圣节、圣诞节等西方主流节日的文化内涵与玩家参与特征,并纳入农历新年等非西方节日及体育赛事等非节日热点,建议优先选择圣诞、夏季和万圣节三大高参与度节点开展活动。指南强调结合北半球季节周期安排更新频率(每2-4周一次),并提示需避开学业周期等玩家活跃低谷期,以有效提升用户粘性与营收。后续内容将聚焦活动设计方法与Meta平台资源支持。

《神力科莎:拉力》拟真拉力赛车游戏确认将在正式版推出后支持PC VR,旨在通过定制版Unreal 5引擎和优化物理系统提升沉浸感。游戏采用3D激光扫描技术还原真实赛段与车辆动态,并模拟天气、路况及轮胎抓地力等影响因素。非VR版计划于2025年11月13日在Steam平台开启抢先体验,但PC VR功能的具体上线时间尚未公布。
◐ PICO头显助力Virtual Field完成400万例VR视力医疗检查

PICO的合作伙伴Virtual Field宣布已通过VR头显完成400万例视野检查等医疗检测,其诊断套件提供14种基于VR的视觉检测选项,帮助医疗机构在空间有限条件下实施全面数据互联的检测方案。该系统服务于从独立诊所到大型医疗系统的多种机构,通过提升检测精准性、高效性和可重复性优化诊疗流程,并为行业树立临床验证与患者体验的标杆。
◐ 2025年10月18日美国专利局新申请AR/VR专利摘选

美国专利及商标局于2025年10月18日公布44篇AR/VR领域专利,涵盖Meta、苹果、谷歌、三星、索尼等企业的技术创新。专利内容涉及光学显示(如可变刚度流体透镜、波导堆叠架构)、交互技术(如单手操作模式、悬空手势界面)、硬件设计(头戴设备舒适带、多焦点组件)及系统优化(SLAM地图限制、动态边界管理)等多个方向,展现了行业在提升沉浸体验、设备舒适度及系统效能方面的持续探索。


