映维日报:Meta分享VR控制器可编程触觉反馈,为Quest开启手部追踪隐藏升级功能
本日报由AI生成,可能存在信息错误,具体可查看原文。

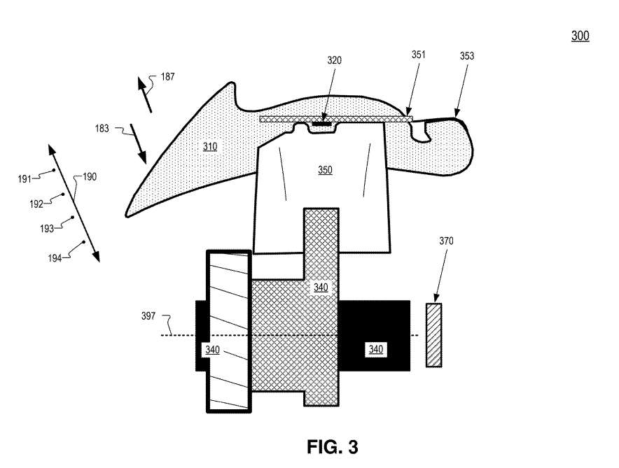
◐ Meta专利提出基于应变传感与电机驱动的可编程触觉反馈系统

Meta 公开一项 VR 控制器触觉反馈专利,通过应变传感器检测用户作用力,结合虚拟对象特性驱动电机动态调整阻力与位置,实现逼真可编程力反馈,解决传统振动与固定弹性结构无法模拟多样触觉的问题,该专利 2024 年 7 月提交并已公布。

大韩母胎医学会为韩国医学生举办产科体验营,通过 VR 技术让学生在虚拟产房学习分娩、高危妊娠管理等技能,以弥补真实分娩教学不足、缓解产科人才短缺问题,该教学方式效果优于传统模型,VR 还可应用于产妇分娩镇痛及产后康复等临床场景。

美国佛罗里达大西洋大学获美国空军赠送价值 450 万美元的 XR 飞行模拟器,该设备可真实模拟 T-1A Jayhawk 驾驶舱环境,支持航空培训与多领域研究,能在可控环境中完成高风险场景测试,学校将向研究界及行业伙伴开放使用。

Meta Quest 新增扩展快速操作功能,可在手掌菜单添加五个快捷按钮,方便用户执行系统操作,文章介绍了该功能的启用步骤与使用方法,其适用于所有 Quest 头显,在 Quest 3 和 Quest 3S 上体验更佳。
◐ 8th Wall完成转型:关闭付费托管平台,全面开源XR引擎

Niantic 旗下的 8th Wall 已完成从付费托管平台到开源项目的全面转型,域名变更为8thwall.org,用户可免费获取 XR 工具集且核心代码开源,原托管平台相关服务将逐步停运,2027 年 2 月 28 日后托管服务终止并删除数据。目前其引擎框架等按不同许可开源并上线配套工具,团队还规划了未来一个月的开源相关工作,后续动态将通过 GitHub 和 Discord 发布。
◐ XPANCEO:2027年初展示首款全集成智能隐形眼镜原型

XPANCEO 在 MWC 2026 展示智能隐形眼镜相关技术,其首款集成图像显示、健康监测与无线供电的原型产品预计今年底研发完成,2027 年初公开展示,产品目前需耳挂或头盔式配套设备供电及计算,未来目标是实现完全独立。

韦尔菲尔德学院的学生使用 PICO 头显开展 VR 历史课,沉浸式体验欧洲二战重要遗址,并通过证词 360 项目与二战亲历者影像互动对话,这种方式让历史学习更真实,也让历史教训得以更好传承。

PICO 视频将在 3 月 6 日至 8 日分别推出中式少女的等待、瓦胡岛火山海滩、珠峰黄昏三部沉浸式内容,文章同时介绍了相关内容简介、观影预约方式及观看路径。

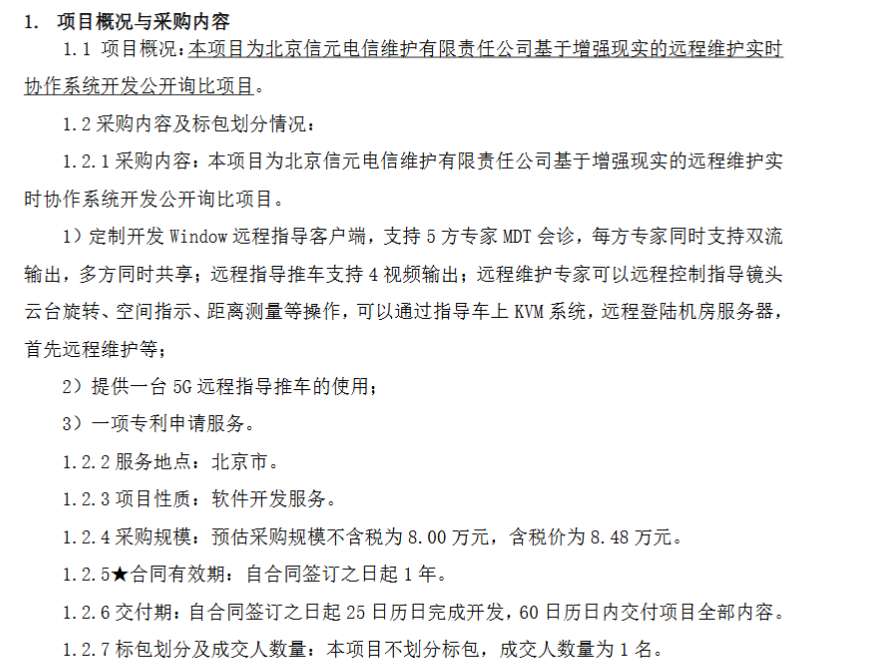
北京信元电信维护有限责任公司计划 8 万元采购基于增强现实的远程维护实时协作系统,项目包含定制开发客户端、提供 5G 远程指导推车及专利申请服务,明确了交付周期、报价限价、供应商资格、业绩及人员要求等内容,并公布了文件获取与响应文件递交的相关安排。

