映维日报:Meta Reality Labs裁员10%-15%,Lumus 70度视场智能眼镜初体验
本日报由AI生成,可能存在信息错误,具体可查看原文。

◐ Meta将对Reality Labs裁员10%-15%,部分VR预算分流至眼镜和腕带设备

据报道,Meta计划对旗下Reality Labs部门进行裁员,裁员幅度预计在10%至15%之间,约影响1500至2250名员工。此次裁员将主要涉及从事VR头显和Horizon Worlds业务的员工。同时,公司计划重新分配资源,将部分VR产品预算转向负责智能眼镜和腕带计算设备的可穿戴设备团队。Reality Labs部门自2020年以来累计亏损已超过700亿美元,此次调整正值Meta将公司战略重心转向人工智能领域。
◐ 承诺提供全彩保真度,Lumus 70度视场智能眼镜初体验

Lumus在CES大会展示了采用几何光波导技术的AR原型设备,其70度视场角原型实现了1080p全彩高保真显示,图像清晰度优于现有智能眼镜。该技术通过镜面反射保持色彩真实度并降低功耗,支持直接粘合处方镜片。同时展出的优化版Z-30光学引擎重11克,视场角30度,文字显示锐利,其2.0预览版进一步减薄40%厚度并减轻30%重量。Lumus表示可通过软件调节视场大小,适应移动与静止不同场景,该技术有望应用于下一代Meta等品牌的AR设备。
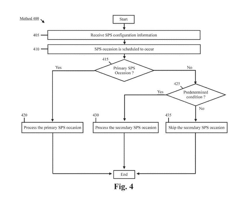
◐ 苹果XR专利为5G网络提出主辅半持续调度时机配置及资源优化方法

苹果提出了一种针对5G网络中XR服务的半持续调度(SPS)优化方案,通过区分主SPS时机和辅SPS时机来降低UE功耗。该方案允许UE根据前序时机是否为空或网络指令来决定是否处理辅时机,从而避免处理无效SPS时机造成的资源浪费。系统支持灵活配置主辅时机比例(如1:1或1:3),并通过MAC控制元素实现连续/结束标记机制,使网络能动态调整UE对辅时机的处理策略。该技术特别适用于处理XR服务中因数据包抖动和大小变化导致的准周期性流量,在保证传输可靠性的同时显著提升能效。

高通提出了一种针对分体式XR系统的动态手部追踪数据同步传输技术,通过时序对齐解决传统方法中因手部姿势估计处理时间不固定导致的视觉撕裂和延迟问题。该技术包含三个核心部分:1)基于机器学习的手部姿态检测引擎识别特征点;2)逆运动学引擎计算关节角度;3)扭曲调度引擎动态调整重投影操作时间,确保手部姿态数据与其他渲染信息同步传输。系统采用主数据流对齐机制,将头显姿态、图像等数据流与手部姿态数据流严格同步,实现网络批量传输以降低功耗。专利同时描述了相位对齐的帧渲染流程,通过预测手部姿态补偿渲染往返延迟,提升XR交互体验的实时性和流畅度。
◐ 苹果推送visionOS 26.3开发者预览版23N5602d更新

苹果发布了visionOS 26.3开发者预览版Beta更新,版本号为23N5602d。开发者可通过Apple Vision Pro设备设置中的“测试版更新”选项下载安装,需使用已注册的苹果开发者账号,并建议提前备份数据。该版本同时支持在Xcode的visionOS模拟器中进行测试。
◐ 科学家研发戒指形态触觉设备,可真实感受虚拟物体的重量与硬度

韩国成均馆大学与瑞士洛桑联邦理工学院研究团队联合开发了一款名为OriRing的戒指形态触觉设备,重量仅18克,可提供高达6.5牛顿的触觉反馈力。该设备采用创新的三轴力传感技术,通过在聚合物表面制作微型金字塔结构,用2×2像素传感器同时测量垂直和水平方向力,使用户在VR环境中能真实感知虚拟物体的重量、硬度及物理特性,并支持通过手势实时调整虚拟对象属性。该设备在保持佩戴舒适性的同时实现了优于手套型设备的力重比性能。

重庆大学发布招标公告,计划以195万元预算采购一套步入式混合现实空间系统。该项目专门面向中小企业采购,要求投标人符合政府采购法相关规定,不接受联合体投标和分包。招标采用全流程电子招投标方式,投标截止时间为2026年2月3日10时,开标将在重庆市公共资源交易中心进行。系统需在合同签订后60日内交货,15日内完成安装调试。采购公告在中国政府采购网发布,公告期限为5个工作日。

