映维日报: 和硕、Magic Leap合作生产AR眼镜组件,苹果SHARP模型2D秒转3D逼真场景
本日报由AI生成,可能存在信息错误,具体可查看原文。

◐ PICO助力艺术教育创新,上海大学上海美术学院启动VR大空间实训室

上海中侨职业技术大学艺术学院与上海大学上海美术学院合作建设的VR大空间实训室正式启用,该空间利用PICO头显设备集成教学、创作、展示功能,涵盖红色历史沉浸体验、AI创意创作、艺术疗愈等模块。实训室特别结合金山农民画非遗传承,通过XR技术动态呈现创作档案,并将学生作品以三维交互形式展示,旨在探索科技赋能艺术教育的新模式,为教学创新提供实践样本。
◐ 见臻科技为XR推出超低功耗眼动追踪平台AURORA II

见臻科技推出专为AR/AI眼镜和VR/MR头显设计的眼动追踪解决方案AURORA IIE,该平台采用自主研发的第二代眼动处理单元(EPU2)专用芯片,将功耗降至基于NPU解决方案的四分之一,支持120Hz处理能力和全天候运行。解决方案包含微型眼动传感器和红外LED,具备超紧凑外形,旨在为可穿戴设备提供高效节能的眼动追踪功能。

美国陆军武器中心与士兵合作,利用VR技术开发炮塔测试平台,通过VR头显和360度投影系统模拟战斗环境,评估炮手在模拟条件下的应激反应、态势感知和作战表现。测试发现投影系统能引发更高应激水平,而VR头显则提升交战能力。这种虚拟测试方法在物理原型建造前有效节省了时间和成本,并已应用于优化装甲多功能车炮塔设计,最终成果已投入全速生产。

苹果发布了开源模型SHARP,该模型能够从单张2D照片在不到一秒的时间内生成照片级逼真的3D高斯场景表示。相比传统需要多视角图像的方法,SHARP在图像质量误差上降低了25-43%,并支持在标准GPU上以每秒超过100帧的速度实时渲染。生成的3D表示具有度量单位,可兼容公开渲染器,为AR/VR领域的视图合成和场景重建提供了高效解决方案。
◐ 奇景光电与友达光电将发布用于AR眼镜的超薄高亮LCoS微显示器

奇景光电与友达光电宣布合作开发面向AR眼镜的超薄高亮硅基液晶(LCoS)微显示器,计划在CES 2026亮相。该解决方案结合了奇景光电的LCoS显示技术和友达光电的高效波导技术,具备720×720分辨率、200毫瓦超低功耗、最高35万尼特亮度及140% sRGB色域覆盖等特点。模组体积最小可达0.09立方厘米,重量仅0.21克,旨在为AR可穿戴设备提供高性能、轻量化且节能的显示方案,目前已获多家科技公司评估。

Magic Leap宣布与和硕达成合作协议,由和硕负责规模化生产Magic Leap的AR眼镜组件,包括波导元件等核心光学部件。Magic Leap将提供其专为轻量级AR眼镜设计的高分辨率波导技术,而和硕则利用其在大规模高精度组件制造方面的经验,共同推动AR组件从开发到量产的市场化进程。
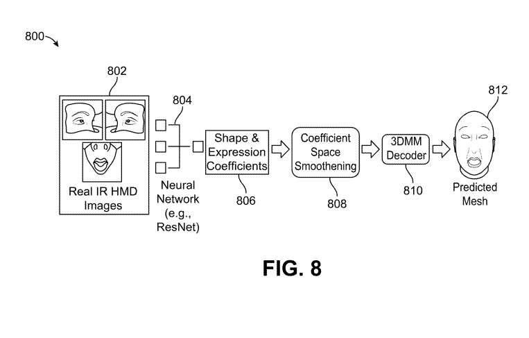
◐ 高通专利提出基于NIR图像的头戴设备遮挡面部网格生成方法

高通提出了一种利用合成近红外(NIR)图像训练机器学习模型的方法,用于解决XR头显设备遮挡面部时的虚拟化身表情追踪问题。该方法通过将RGB面部图像与头显模型合成后转换为NIR域图像,构建训练数据集,并采用两阶段训练策略提升模型性能。技术核心包括:1)使用CycleGAN实现RGB到NIR域的转换;2)通过数据增强缩小合成与真实NIR图像的差距;3)将面部网格分为动态内部区域和静态外部区域分别处理;4)应用轻量级平滑算法确保表情连贯性。该方案能够基于头显内置NIR摄像头捕获的图像,实时生成精确的面部网格模型,有效解决了传统方法因头显遮挡和图像域差异导致的表情追踪不准确问题。

国家发展改革委和财政部发布的2026年政策通知在手机、平板、智能手表手环的基础上,首次将智能眼镜纳入消费品以旧换新补贴范围。消费者购买智能眼镜可享受产品售价15%的补贴,每件补贴上限为500元。尽管政策未明确定义智能眼镜是否包含AR/VR产品,但相关解读和电商平台先例表明,PICO等AR/VR设备有望在2026年享受此项国补优惠,从而降低消费者购买成本。

西昌医学高等专科学校发布二次招标公告,计划以19万元预算采购AR校徽项目。招标范围为一个标段,要求投标人具备独立民事责任能力、良好商业信誉、履行合同所需的设备与技术能力等基本资格,并需提供至少一个同类型业绩合同。投标文件需在2026年1月12日前递交至指定地址,开标将于同日进行。项目资金来源为非财政性资金,不允许联合体投标。

