映维日报:Meta AI眼镜面临多重考验,《忍者神龟:帝国都市》明年登陆PICO、Quest等
本日报由AI生成,可能存在信息错误,具体可查看原文。

◐ 微软专利为XR设备的LBS激光束扫描系统提出自适应校准方法

微软在一份专利申请中提出了一种针对XR设备激光束扫描系统的自适应校准方法,用于解决因温度变化和老化导致的微机电镜片共振频率漂移问题。该方法通过在系统启动等时机动态调整陷波滤波器参数,抑制镜片的异常运动,从而改善图像质量、降低功耗并防止硬件损坏。专利描述了快速扫描镜和慢速扫描镜的多种模式及其谐振特性,强调利用自适应滤波器实时跟踪和校正频率漂移,以保持稳定的幅度响应。该方案不仅提升了显示设备的可靠性和寿命,还支持在启动过程中自动检测和重新配置控制参数,实现自我校准和灾难保护,为XR显示系统提供更高的稳定性与安全性。
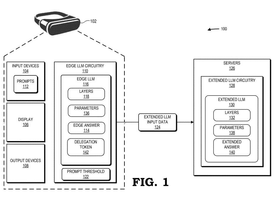
◐ 谷歌专利提出基于边缘与云端LLM协同的XR低延迟问答系统

谷歌在一项专利中提出了针对XR设备的混合架构方案,以解决使用云端大型语言模型时因网络传输和计算造成的响应延迟问题。该架构通过在设备端部署轻量级“边缘LLM”快速生成初步答案,并在需要时委派云端“扩展LLM”生成更复杂和准确的补充答案,从而实现速度与质量的平衡。边缘LLM能迅速提供简短回应,减少用户等待时间,而扩展LLM则保证答案的深度和准确性。两者结合形成混合答案,既提升了交互的实时性,又改善了整体用户体验。这项专利展示了谷歌在XR设备交互技术上的新思路,强调边缘与云端协同优化响应效率与内容质量。

全球最大眼镜制造商依视路陆逊梯卡与Meta合作推出的雷朋Meta智能眼镜在2025年实现显著收入增长,但也引发了隐私担忧和竞争压力。该眼镜通过内置摄像头和AI助手提供拍摄、串流和交互功能,却因旁观者难以控制数据使用而受到欧洲监管机构和数字权利组织的质疑。尽管公司股价上涨并占据约60%的市场份额,分析师警告其先发优势可能因苹果、谷歌、阿里巴巴、小米等竞争者的加入而减弱。依视路陆逊梯卡依托全球门店和奢侈品牌合作,持续推动智能眼镜战略,强调与主管当局合作以保护隐私并设定行业标准,同时欢迎竞争以促进市场发展。
◐ 支持自有服务器构建并托管实时3D体验,RP1开放空间互联网平台

空间计算软件与基础设施供应商RP1宣布正式向开发者开放其空间生态系统,并首次发布工具套件和技术文档,支持用户利用自有服务器构建和托管实时3D体验。该方案旨在帮助创作者、开发者和企业保持数据所有权并自主管理盈利模式。RP1推出了包括开放标准元宇宙浏览器、通用空间框架、自托管空间服务器、网络服务对象以及高效能Statabase在内的核心技术,以推动持久化空间互联网的发展。公司高层指出,封闭平台限制了空间基础设施建设,而开放架构和按需流式传输模式才是未来方向。开发者可通过RP1开发者中心注册学习如何托管元宇宙服务器和创建持久化3D环境,公司计划在2026年前继续发布更多API和应用案例。
◐ 亚马逊热门剧集《黑袍纠察队》将于明年发行首款官方VR衍生游戏

索尼影视电视与亚马逊工作室联合出品的热门美剧《黑袍纠察队》宣布推出首款官方VR衍生游戏《The Boys: Trigger Warning》,由Sony Pictures Virtual Reality与巴西游戏工作室Arvore合作开发,计划于2026年发行。该剧讲述普通人组成的“黑袍纠察队”对抗被资本腐蚀的超级英雄的故事。新游戏由原班人马打造,背景设定在沃特主题乐园,玩家将扮演一名普通人,在家庭出游中意外揭开沃特公司的秘密并成为“超能者”,随后加入黑袍纠察队展开复仇。游戏延续剧集的黑色幽默与讽刺风格,结合动作与剧情,为粉丝提供沉浸式体验。
◐ 2026年登陆PICO,Quest和Steam,《忍者神龟:帝国都市》上手前瞻

《忍者神龟:帝国都市》将于2026年推出,登陆PICO、Meta Quest和SteamVR平台,成为首款忍者神龟VR游戏。玩家可操控四位经典角色李奥纳多、拉斐尔、多纳泰罗和米开朗基罗,使用各自的标志性武器与大脚帮战斗,并在单人或多人模式中探索受纽约启发的关卡。游戏包含解谜、物品收集和装备升级等冒险元素,配备智能手表界面以显示生命值和地图。演示版展现了90年代横版卷轴风格的战斗系统,支持格挡、招架和攻击,但仍需进一步打磨。整体美术采用卡通渲染,配音风格贴近经典动画,成功营造出忍者神龟的氛围。

平度市技师学院公告,计划以21万元采购美发专业VR虚拟影像教学系统,以满足数字化时代的教学需求并提升美发专业的教学质量。项目内容包括采购6套系统授权、租赁1套VR实训操作平台及6套头戴式VR设备和操作手柄。该项目已获批准并具备招标条件,专门面向中小企业采购,不允许联合体投标。投标文件需在2025年12月19日15时00分前递交,届时将在平度市北京路285号院内东楼一楼开标。公告明确了投标人资格要求、文件获取方式及相关流程,并公布了学院及代理机构的联系方式。
◐ 武汉科技大学187.8万元建设VR智慧实训室和五轴增减材混合制造教学平台

武汉科技大学公告,计划以187.8万元建设工程实践创新中心多功能VR智慧实训室和桌面式五轴增减材混合制造教学平台,其中包一限价105万元,包二限价82.8万元。该项目编号为STBN-ZC-2025-530,采购方式为公开招标,合同签订后30日内完成交货,不接受联合体投标、进口产品或合同分包。投标文件需在2025年12月29日09时00分前通过湖北省政府采购电子交易数据汇聚平台递交,开标地点为线上系统。公告明确了投标人资格条件、文件获取方式及相关政策要求,并公布了武汉科技大学及代理机构的联系方式。

新疆华电西黑山发电有限责任公司公告,计划建设职工技能及安全培训室和VR体验室。项目内容包括为培训室配置完整的软硬件系统,如培训系统、工具箱、服务器、一体机及桌椅,并完成墙面安全文化装修和视频监控安装;同时为VR体验室提供单人沉浸平台、事故体验系统、安全防护、心肺复苏和消防灭火训练设备,开发专属VR培训软件并完成相关装修与智能门牌安装。合同签订后需在120天内完成交付。投标人须为境内合法注册企业,具备良好经营和财务状况,并提供至少一项类似业绩,不接受联合体投标。投标文件需在2025年12月16日09时30分前通过安徽省能源集团有限公司招标采购数字化管理系统递交,届时系统将统一开启响应文件。公告同时公布了采购人联系方式。


