映维日报:Android XR智能眼镜2026年面世,Android XR原型智能眼镜上手体验
本日报由AI生成,可能存在信息错误,具体可查看原文。

◐ Android XR全面进化,首批眼镜设备将于2026年面世

在The Android Show | XR Edition特别版中,谷歌展示了不断扩展的Android XR平台,强调为XR生态系统提供统一的开发者体验。公司正在研发两款AI眼镜:一款无屏幕版本,支持语音交互、拍照与Gemini助手功能,计划于明年推出;另一款带显示屏的版本可显示私密信息,预计2026年面世。谷歌与三星、Gentle Monster和Warby Parker合作设计轻便时尚的眼镜,并与Uber探索导航应用。同时,XR生态扩展至有线设备如XREAL的Project Aura。最新的Android XR SDK Developer Preview 3提升了头显API稳定性,并开放对AI眼镜的开发支持,提供Jetpack Compose Glimmer、Jetpack Projected及ARCore更新。平台基于OpenXR标准,现已获得Unreal Engine和Godot引擎支持,进一步推动开发者为多形态XR设备构建沉浸式体验。

研究人员近日展示了一款名为QuadStretcher的VR触觉原型设备,它通过在前臂进行皮肤拉伸来模拟物理力,无需手套或控制器。该系统利用四个电动拉伸单元和齿轮齿条结构产生位移,以前臂肌肉的自然运动为模型,提供直观的反馈。在对20名测试者的实验中,QuadStretcher在动态场景如拉伸橡皮筋或挥动网球拍时表现优于传统的压力脉冲臂带,尤其在感知作用力方向方面更为真实。研究还发现反馈位置和用户对动作的主观认知会影响体验。该设备已在GitHub开源,未来计划推出更紧凑的版本并支持模拟冲击力。
◐ GOLF+与Meta Quest 3如何助力欧洲队赢得莱德杯

在2025年莱德杯上,欧洲队以15比13战胜美国队,成为自2012年以来首支在客场获胜的球队。队长卢克·唐纳德提出利用虚拟现实技术帮助球员备战的构想,促成了与GOLF+团队的合作。通过Meta Quest 3头显,球员们得以提前沉浸在比赛氛围中,体验真实人群的喧嚣与嘲讽,从而更好地适应压力环境。GOLF+不仅重现了挑战性的球场,还加入了往届赛事的观众录音,帮助球员消除紧张感。最终,这一创新训练方式被认为在欧洲队的胜利中发挥了重要作用,并为未来更多球队采用VR训练提供了参考。
◐ Techradar分享下一代Android XR原型智能眼镜上手体验

在The Android Show: XR Edition中,谷歌展示了两款Android XR智能眼镜原型,一款为单目显示,另一款为双目显示,并与Xreal合作亮相了Project Aura设备。单目与双目原型均采用波导技术,通过轻量化设计与Pixel手机配合使用,支持Gemini AI语音交互、信息显示、拍照与实时转译等功能。双目版本提供更宽视场和立体视觉,适合地图与空间内容展示。Xreal Project Aura则通过Micro LED显示与外接计算模块实现70度视场角和手势控制,支持生产力与游戏场景。与此同时,三星Galaxy XR获得更新,加入拟真虚拟化身Likeness功能,用于视频通话和协作。尽管部分设备距离商业化仍需时日,但谷歌已展现出围绕智能眼镜、手机、手表和应用商店的生态系统正在逐步形成。
◐ 一切都变了,Android XR负责人亲述智能眼镜如何颠覆未来感知

在接受Techradar专访时,谷歌XR产品管理高级总监贾斯顿·佩恩表示,Android XR将成为“下一个计算平台”,并分享了其对智能眼镜未来的愿景。他通过家庭旅行中的体验说明了XR眼镜在导航和日常生活中的潜力,强调智能眼镜将结合AI驱动的音频与视觉信息,逐渐普及并引发“害怕错过”的效应。谷歌已与三星、Warby Parker和Gentle Monster等合作伙伴展开合作,目标是让消费者在普通眼镜店即可购买由Android XR和Gemini驱动的智能眼
◐ 三星Galaxy XR推出拟真虚拟化身功能,旅行模式和桌面串流

在The Android Show: XR Edition中,谷歌宣布三星Galaxy XR头显将获得多项新功能。首先是拟真虚拟化身系统Likeness (Beta),用户可通过手机扫描面部生成虚拟化身,并在视频通话中由头显的眼动和面部追踪实时驱动,替代传统摄像头画面。其次是旅行模式,支持在飞机、火车等交通工具中使用头显,避免因加速度和振动导致虚拟物体漂移。最后是PC Connect (Beta),允许用户在XR环境中以虚拟屏幕形式显示并控制Windows电脑,提供桌面或窗口镜像功能。这些更新进一步丰富了Galaxy XR的应用场景与交互体验。
◐ 谷歌为AI眼镜应用开发发布Android XR SDK Developer Preview 3

谷歌宣布推出Android XR SDK Developer Preview 3,以支持不断扩展的XR设备生态,包括Galaxy XR和即将推出的AI智能眼镜。该版本引入了Jetpack Projected和Jetpack Compose Glimmer两大新库,帮助开发者构建免提交互和私密信息展示的增强体验,并在Android Studio中提供AI智能眼镜模拟器。SDK还扩展了ARCore功能,支持面部追踪、眼动追踪和深度图交互,同时增强了Jetpack SceneCore和Material Design for XR的能力,提升沉浸式视频渲染与空间UI适配。针对XREAL Project Aura等设备,谷歌提供XR眼镜模拟器,并在Unity工具链中加入场景网格化和多种追踪功能,进一步推动XR应用的开发与交互体验。

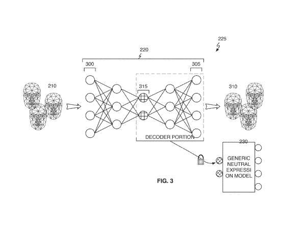
苹果在一份专利申请中提出了一种高效的个性化虚拟化身生成方法,旨在解决传统3D虚拟化身依赖大量个人数据采集与手动建模的繁琐问题。该方法通过基于大规模人群数据预训练的通用模型,结合自编码器分离“身份”与“表情”,并利用少量个人数据(如短视频)快速适配,从而以低成本生成高保真、可实时响应音频和视频驱动的虚拟化身。专利详细描述了中性表情模型与表情模型的训练过程、条件变量的应用、CNN与自编码器的结合方式,以及如何在遮挡或数据不足时保持虚拟化身的稳定性。该技术不仅能捕捉细微面部动作,还可用于情绪识别与交互场景,展现了虚拟化身在实时通信和沉浸式体验中的应用潜力。

长春市朝阳区人民检察院发布公告,计划以23万元采购VR法治学习机,资金来源为财政资金。该项目已获批准并具备招标条件,划分为一个标段,不允许联合体投标。投标人需提供营业执照、身份证及授权委托书等材料,招标文件售价为300元。投标文件递交截止时间为2025年12月18日09时00分,届时将在长春市南关区希派创意城开标。采购代理机构为中恒一信项目管理咨询有限公司,公告中明确了联系方式和相关要求。


