映维日报:Meta战略调整元宇宙团队重组,谷歌XR专利提出热补偿特性波导
本日报由AI生成,可能存在信息错误,具体可查看原文。

◐ 媒体评论:三星Galaxy XR是行业迈向下一阶段的关键头显

三星Galaxy XR以介于Meta Quest 3和Apple Vision Pro之间的定价策略,兼具游戏与空间计算功能,对两者形成竞争压力。该设备通过兼容OpenXR和Unity支持游戏生态,并复刻Vision Pro的媒体与生产力特性,以更低成本实现跨场景应用。其出现打破了原有市场格局,有望通过平衡性能与价格加速XR技术普及,推动行业进入新一轮创新周期。
◐ 研究员提出新型电子墨水XR显示屏,分辨率远超现有头显设备

瑞典研究团队开发出一种基于电可调“元像素”的新型电子墨水显示技术,其像素密度超过25,000 PPI,远超当前主流XR设备的4,000 PPI水平。该技术利用三氧化钨纳米盘的电致变色特性实现纳米级光学调控,具备高对比度和低功耗优势,有望推动超紧凑VR/AR设备发展。但当前技术存在刷新率不足(仅25 Hz)、色域有限及稳定性等挑战,需进一步优化电解质材料和驱动电路才能满足沉浸式XR应用所需的60-90 Hz刷新率要求。

Meta宣布重组元宇宙业务,原负责人维沙尔·沙阿调任至人工智能部门,担任Meta超智实验室产品与应用研究团队的AI产品副总裁,向纳特·弗里德曼汇报。其原有职责由加布里埃尔·奥尔接任元宇宙产品组领导,瑞安·凯恩斯继续负责Horizon OS业务。Meta首席技术官安德鲁·博斯沃思强调元宇宙仍是公司优先事项,此次调整旨在加强AI业务整合,利用沙阿在Reality Labs的经验加速AI与元宇宙的协同发展。沙阿表示AI与元宇宙深度交织,其新角色将推动个人超智能力在元宇宙中的应用,为创作者和企业释放新机会。

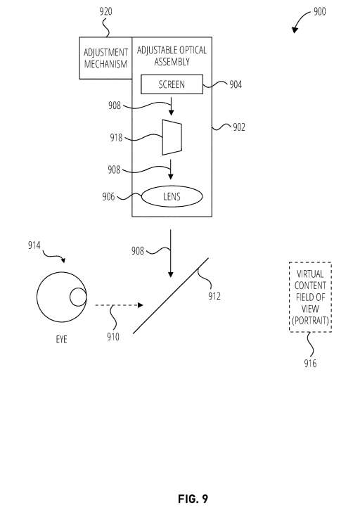
Snap提出一种用于XR设备的可调节显示布置技术,通过机械或光学调整机制实现虚拟内容视场在竖屏与横屏模式间的动态切换。该方案包含旋转光学组件、反射镜组或达夫棱镜等元件,通过改变光路路径调整视场方向,无需裁剪图像即可适配不同内容类型(如人像文本需竖屏、全景游戏需横屏)。系统可基于应用程序需求、用户输入或传感器数据自动触发模式切换,并同步调整渲染格式以确保内容与视场对齐。该技术提升了XR设备对不同应用场景的适应性,避免了固定视场对内容开发的限制,同时减少了对图像处理计算资源的依赖。

谷歌提出一种新型波导设计方案,通过引入操作补偿特性解决传统波导在热或机械应力下性能下降的问题。该设计采用可变厚度结构,在室温下预置厚度梯度(近热源区域较薄、远离区域较厚),以抵消设备运行时因热膨胀导致的形变,使波导在操作条件下保持平坦光学表面。同时支持预加应力框架设计,通过预张紧结构补偿环境或使用导致的机械变形。该技术可应用于AR/VR眼镜等近眼显示设备,显著改善热梯度下的像质稳定性,避免视窗缩小、色彩镶边和图像模糊等问题。

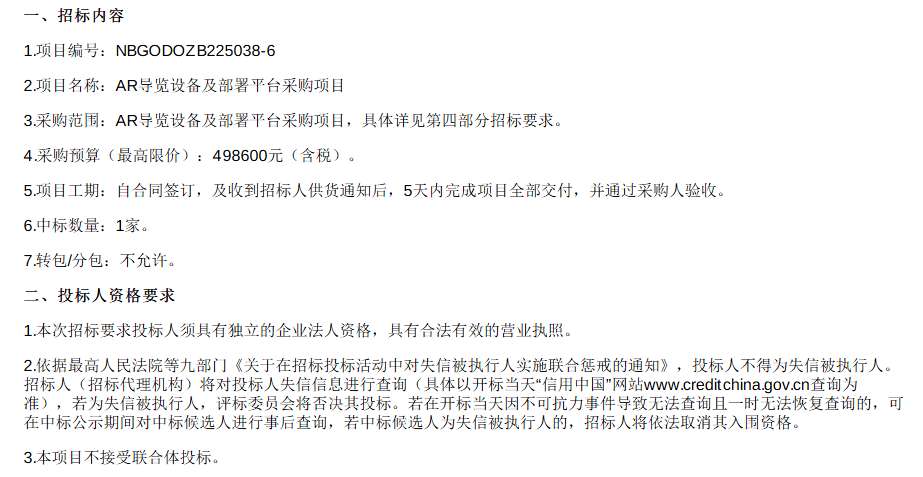
宁波科学探索中心管理有限公司发布招标公告,计划以49.86万元预算采购AR导览设备及部署平台,项目要求投标人具备独立法人资格且无失信记录,不接受联合体投标。招标文件可通过宁波市阳光采购服务平台免费获取,投标需缴纳8000元保证金,投标截止时间为2025年11月5日9时30分,采用全流程电子招投标模式,中标方需在合同签订后5天内完成设备交付并通过验收。项目由宁波国际投资咨询有限公司代理,开标过程通过线上平台进行不见面开标。
◐ 新疆师范高等专科学校40万采购数字媒体与虚拟现实技术实训平台

新疆师范高等专科学校(新疆教育学院)发布公开招标公告,计划以40万元预算采购数字媒体技术和虚拟现实技术实训平台,项目内容包括专业显示屏、固定支架、AIGC绘图平台及资源包等设备。该项目专门面向中小企业采购,要求投标人符合政府采购法规定且不接受联合体投标。招标文件可通过线上邮箱或线下现场方式获取,投标截止时间为2025年11月17日11时,开标地点位于乌鲁木齐市水磨沟区。项目要求合同签订后30日内完成设备供货安装并交付使用,由新疆新诚泰工程咨询有限公司代理招标全过程。

东南大学计划以98.6万元预算采购艺术学院VR创意教学实验室设备,项目编号为SEU-ZB-250955,主要包括动作捕捉摄像系统、创意AI数位套件、VR制作工作站等,要求合同签订后60天内完成安装调试。投标人需满足《政府采购法》第二十二条规定,且未被列入信用中国及中国政府采购网失信记录名单。招标文件获取截止时间为2025年10月31日,投标文件提交截止时间为2025年11月14日14点30分,采联国际招标采购集团有限公司负责代理此次采购。
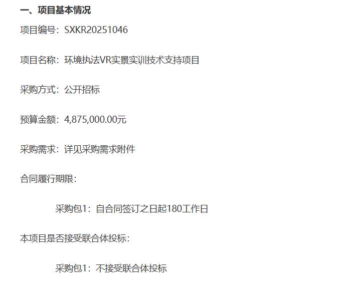
◐ 陕西省生态环境执法总队487万招标环境执法VR实景实训技术支持项目

陕西省生态环境执法总队发布公开招标公告,以487.5万元预算采购环境执法VR实景实训技术支持项目,要求投标人符合政府采购法规定且专门面向中小企业,不接受联合体投标。招标文件可通过陕西省政府采购网平台免费获取,投标截止时间为2025年11月14日14时30分,采用全流程电子化交易模式,中标方需在合同签订后180个工作日内完成项目交付。该项目落实中小企业扶持及节能环保等政府采购政策,相关技术操作需通过平台数字证书认证,开标过程在线进行。
◐ 安徽商贸职业技术学院98万招标AR企业数字化运营仿真项目

安徽商贸职业技术学院发布公告,以98万元预算公开招标AR企业数字化运营仿真项目,要求投标人符合政府采购法规定,不接受联合体投标。招标文件可通过安徽公共资源交易平台免费获取,投标截止时间为2025年11月14日11时,采用全流程电子化交易模式,中标方需在合同签订后20个工作日内完成项目交付。该项目落实节能环保及中小企业扶持政策,相关公告已在安徽省多个公共资源平台同步发布。
◐ MicroLED厂商JBD获10亿+融资,推动消费级AR生态共建

上海显耀显示科技有限公司(JBD)宣布完成超十亿元人民币B2轮融资,由混沌投资和中信金石领投,多家投资机构跟投。融资将用于加速MicroLED微显示技术创新与产品迭代,推动消费级AR生态建设及全球产业化布局。JBD成立十年已将其MicroLED产品应用于近50款智能眼镜,投资方认为AR眼镜是AI时代核心交互终端,JBD凭借技术积累和量产能力在AR供应链中建立领先地位,本轮融资将巩固其在微显示领域的优势并拓展新兴应用场景。


