2026年03月28日美国专利局新申请AR/VR专利摘选
文章相关引用及参考:映维网Nweon
一共更新了79篇专利。
(映维网Nweon 2026年03月28日)近期美国专利及商标局公布了一批全新的AR/VR专利,以下是映维网的整理(详情请点击专利标题),一共79篇。更多专利披露请访问映维网专利板块https://patent.nweon.com/进行检索,你同时可以加入映维网AR/VR专利交流微信群(详见文末)。
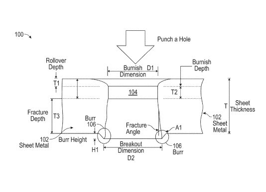
1. 《Meta Patent:Method of rounding metal edge and eliminating taping at fatp(Meta专利:倒圆金属边缘和消除毛刺的方法)》

在一个实施例中,将工件放置在包括齿的弯曲块和弯曲工具的平台之间。调整工件的位置以将工件的毛刺放置在弯曲块的齿下,并将弯曲块推靠在工件上以弯曲毛刺,从而防止损坏相邻的非金属部件。
2. 《Meta Patent:Wearable device proximity detection using infrared light(Meta专利:使用红外光的可穿戴设备接近检测)》

......(全文 13829 字,剩余 13572 字)
请微信扫码通过小程序阅读完整文章或者登入网站阅读完整文章
映维网会员可直接登入网站阅读
PICO员工可联系映维网免费获取权限

