映维日报:Meta轻量级MR眼镜渲染图曝光,谷歌专利提出多模态感知XR模糊指令处理
本日报由AI生成,可能存在信息错误,具体可查看原文。

◐ Meta轻量级MR眼镜及外接单元渲染图传出,据称基于原型建模

消息人士放出 Meta 代号凤凰的 MR 眼镜及其外接计算单元渲染图,渲染图基于原型机建模。该设备为分体式设计,此前多家媒体报道的不同代号分体式设备实为同一款,计划 2027 年上半年推出,重量控制在 110 克以下,售价预计高于 300 美元且低于 1000 美元,Meta 尚未对相关信息置评。

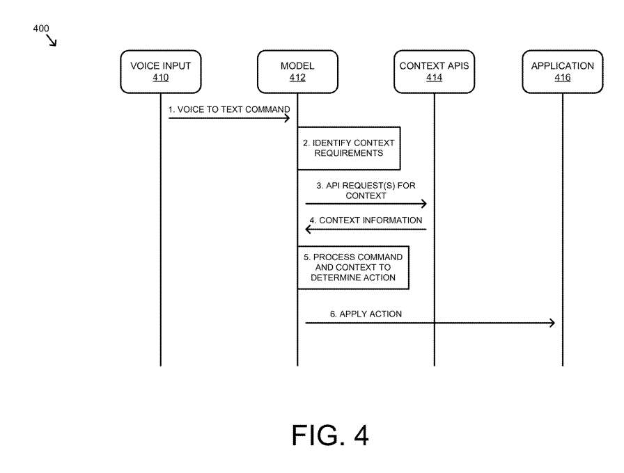
谷歌在一项专利申请中提出基于多模态感知的 XR 设备模糊指令处理方法,通过融合视觉感知与自然语言处理模型,解析 “这个”“那个” 等模糊指令,提升交互自然性与效率。该技术利用摄像头、视线、手势等获取上下文信息,通过多模态神经网络理解用户意图,可执行播放视频、显示内容、添加购物车等操作,并借助 API 调用环境数据实现精准交互。此专利申请于 2024 年 7 月提交,近期由美国专利商标局公布。

开发者利用 Meta 智能眼镜、Gemini Live 与开源 AI 智能体 OpenClaw 实现了识别商品并自动加入亚马逊购物车的演示,相关方法可自行设置。但安全专家与安全公司警告,该 AI 智能体存在致命三重安全威胁,可获取高敏感个人数据、记录信息并可能外传或植入恶意代码,建议用户不要跟风使用,避免个人数据泄露。该演示也引发了关于 AI 智能眼镜实用性与安全性平衡的讨论。
◐ 智能眼镜成新型偷拍工具:男性网红街头搭讪女性全程录制引争议

部分男性网红利用外观普通的智能眼镜在街头、商场、机场等公共场所偷拍搭讪女性的过程,未经同意将视频发布至社交媒体获取流量与收益,严重侵犯女性隐私并引发新型骚扰问题。多位受害女性分享了被偷拍及视频传播的经历,专家指出这是技术性别化滥用的新案例,侵犯女性身体自主权与公共活动权利。智能眼镜的录制提示灯可被轻易遮挡,相关法律监管与平台治理面临挑战,英美警方在处理此类事件时存在执法困难,各界呼吁规范智能眼镜使用以保护个人隐私。
◐ 澳大利亚推出VR道路安全教育项目,青少年可沉浸式体验“致命驾驶”

澳大利亚昆士兰警务处与交通主干道局联合推出 “安全驾驶,驶向未来”VR 道路安全教育项目,通过 360 度全景 VR 体验,让青少年在沉浸式环境中模拟驾驶决策,围绕五类高危驾驶行为开展教育,体验后还可与警务人员探讨决策得失。该项目将在未来数月内在学校、社区团体及工作场所推广,旨在减少当地道路重伤及死亡事故、筑牢道路安全环境。此外,英国莱斯特郡警方也在用 VR 对司机开展道路安全教育。
◐ 任天堂道歉并澄清:Labo VR不兼容Virtual Boy经典游戏

此前 GamesBeat 引述任天堂员工言论称 Virtual Boy 经典游戏将支持 Labo VR 头显游玩,随后任天堂联系该媒体澄清此说法有误,表明 Labo VR 并非 Virtual Boy 经典游戏库的官方支持设备。任天堂目前提供两种专用配件供游玩特定 3D 画面的 Virtual Boy 游戏,分别是适用于 Switch 2/Switch 的 Virtual Boy 官方复刻版和纸板模型版,并就此前的混淆表达歉意。此外,任天堂 Labo VR 套装于 2019 年发售,是其 1996 年原版 Virtual Boy 停产后首款官方头显产品,目前已停产。
◐ Squido Studio与主播jmancurly达成合作,探索VR游戏开发新路径

VR 游戏开发商 Squido Studio 与 CurlyBlue 工作室达成深度战略研发合作,将内容创作者创意与社群洞察融入游戏核心研发流程,区别于传统主播合作仅做后期宣传。双方结合技术经验、创意与社群资源,让粉丝在项目早期参与测试反馈,实现快速迭代,以共享知识产权、共担风险收益的模式长期为 Meta Quest 平台开发内容。双方合作的首款 VR 游戏《Wizherd》将于 2 月 12 日登陆 Meta Quest 平台。
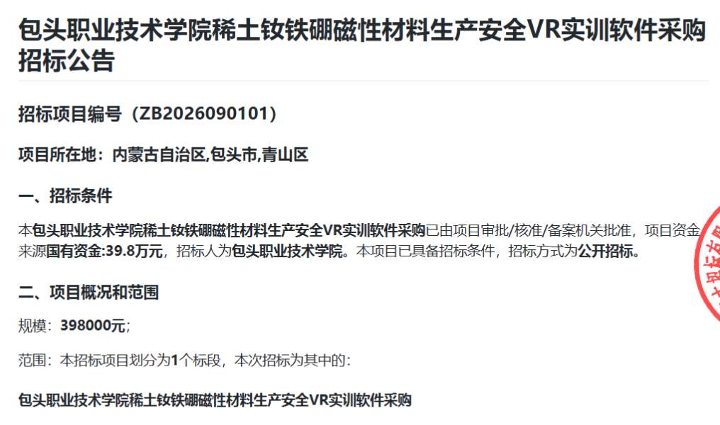
◐ 包头职业技术学院39.8万元采购稀土钕铁硼磁性材料生产安全VR实训软件

包头职业技术学院以 39.8 万元国有资金公开招标采购稀土钕铁硼磁性材料生产安全 VR 实训软件,项目要求供应商满足政府采购相关条件且无失信记录,不接受联合体投标。招标文件可通过邮件申请获取,获取截止到 2026 年 2 月 28 日,投标文件递交及开标时间为 2026 年 3 月 11 日,地点在内蒙古包头市九原区相关会议室。
◐ 上海浦东公租房公司 150 万元招标 VR 制作及资料整理项目

上海市浦东新区公共租赁住房投资运营有限公司以 150 万元国有资金公开招标 VR 制作及资料整理项目,旨在提升保障性租赁住房管理数字化可视化水平,提供 VR 看房、房源信息归集管理、公区拍摄及户型图制作相关服务。项目明确了投标人资格要求,不接受联合体投标及转包,招标文件获取截止到 2026 年 2 月 11 日 16 时,投标文件递交及开标时间为 2026 年 2 月 27 日 10 时,地点位于惠南镇汇成路相关会议室,项目由上海诚瀚管理咨询有限公司代理招标。

