Lumus专利提出紧凑型光学投影系统及光导耦合方法
紧凑型光学投影系统及光导耦合方法
(映维网Nweon 2026年01月26日)AR设备亟待小型化与高性能化,但AR眼镜在极端紧凑空间内实现高质量图像显示存在固有矛盾:传统投影系统体积庞大,而光导(波导)的图像注入效率、偏振管理及像差控制极具挑战。针对这个问题,Lumus在一份专利申请中提出了一种创新的偏振优化光路设计,在缩小光学引擎体积的同时,提升图像亮度、视场角和光学效率。

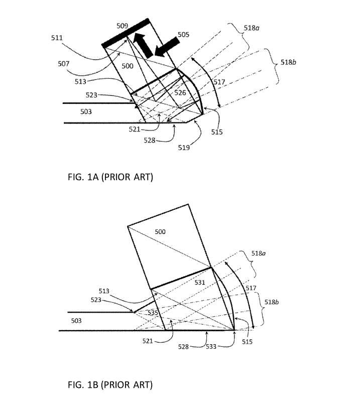
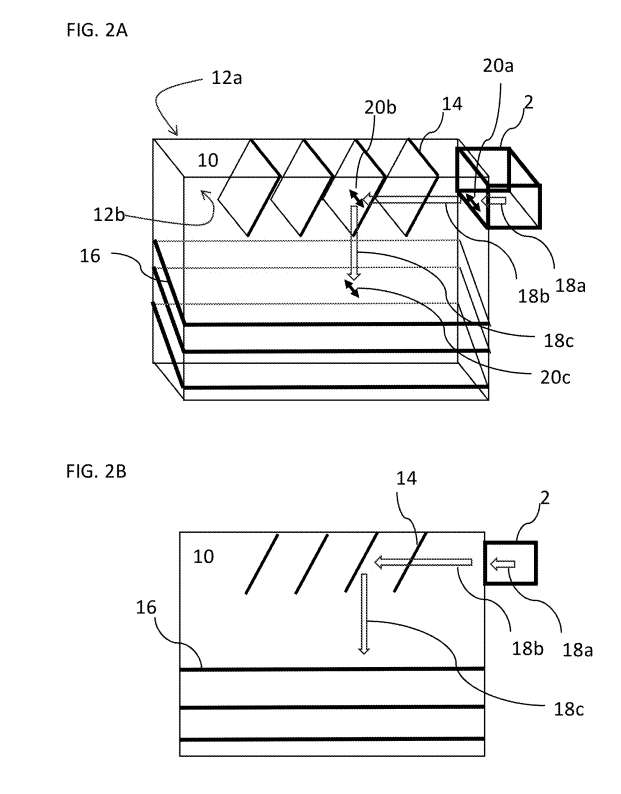
图1A和图1B描述了一种紧凑光学系统,它采用与光导集成的紧凑图像投影仪,用于将图像传送到用户眼睛。后续图示则描述了针对图1A和图1B的改进。在最优先选的实施例中,光学系统包括二维光学孔径扩展光导。这种布置的整体架构在图2A和图2B示出。

图2A和图2B显示了连接到光导10的图像投影仪2的示意性等轴视图和侧视图,光导10具有前平行面12a和后平行面12b。光导10包含第一组部分反射器(又称为“刻面”)14,反射器垂直于光导面12a和12b。第二组平行的部分反射器(刻面)16相对于光导面成斜角。
光束18a示意性地表示来自投影仪2的准直图像,其偏振方向20a设置为垂直于表面12a和12b(可称为相对于所述表面的P偏振)。该光束在光导10内传播,表示为18b,同时保持其偏振。尽管示意性地显示为单个箭头,但该光线的角度使其能够通过内反射传播,从表面12a和12b反射。光束18b入射到刻面14上。由于这些刻面14垂直于表面12a和12b,入射光束18b的偏振20b平行于刻面14的表面,对应于相对于这些刻面的S偏振。
......(全文 4866 字,剩余 4356 字)
请微信扫码通过小程序阅读完整文章或者登入网站阅读完整文章
映维网会员可直接登入网站阅读
PICO员工可联系映维网免费获取权限

