苹果XR专利为远程通信会话提出Avatar空间模式
Avatar空间模式
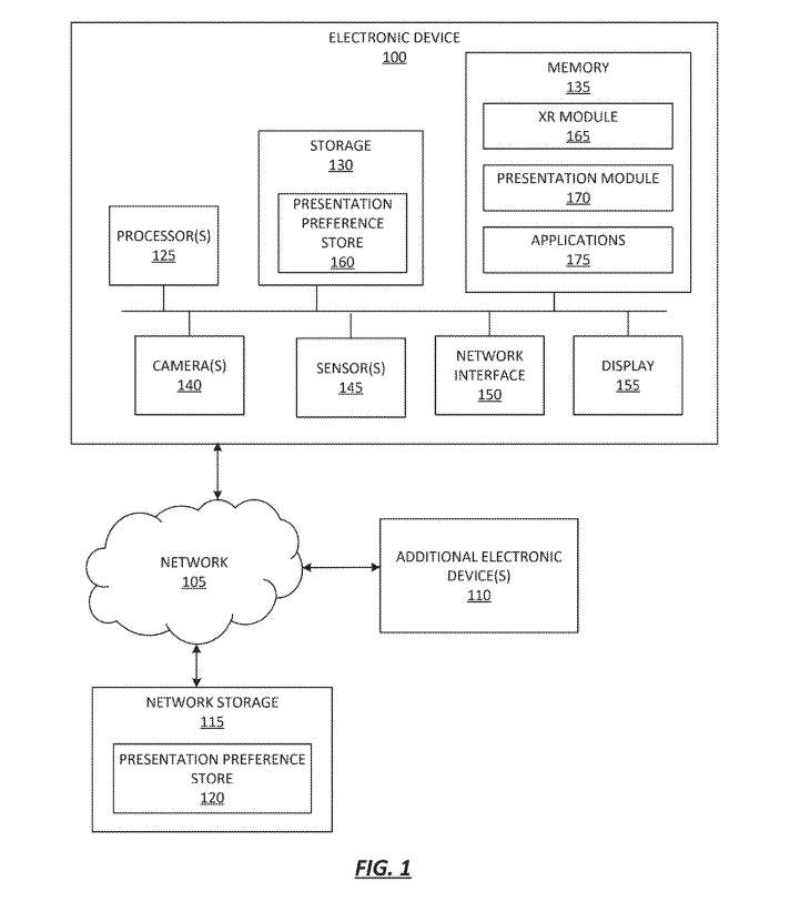
(映维网Nweon 2025年12月30日)在扩展现实(XR)的多用户通信会话中,不同设备间空间表示不一致会导致交互缺乏上下文,例如用户与虚拟对象的相对位置在不同视角下可能不匹配,从而影响协同体验。在一份专利申请中,苹果提出了一种所谓的Avatar空间模式,以由本地用户确定的方式呈现在多用户通信会话中活动的其他用户的表示。
在一个实施例中,设备可以以由本地用户确定的方式呈现多用户通信会话中的其他用户的表示,亦即Avatar空间模式。Avatar空间模式主要包括房间规模模式和静止模式。其中,房间规模模式意味着远程用户的Avatar可以逼真地映射远程用户的所有动作,从而提供空间真实感;静止模式则以静止方式表示用户,例如头像贴图。静止模式可以减轻设备负载。
简单来说,苹果希望允许XR兼容设备呈现远程用户的Avatar,而本地用户可以自由选择其中一种Avatar空间模式来进行远程通信,包括提供完整空间真实感的房间规模模式和减轻设备负载的静止模式。

......(全文 4917 字,剩余 4546 字)
请微信扫码通过小程序阅读完整文章或者登入网站阅读完整文章
映维网会员可直接登入网站阅读
PICO员工可联系映维网免费获取权限


