映维日报:谷歌因自视为乔布斯而导致谷歌眼镜惨败,日本XR媒体Mogura被收购
本日报由AI生成,可能存在信息错误,具体可查看原文。

◐ 罗永浩的困惑:Meta烧钱做VR,是培育未来,还是扼杀未来

罗永浩在个人博客节目中对Meta公司VR发展战略的质疑。他认为Meta通过巨额补贴硬件、低价抢占市场的互联网打法正在扰乱VR行业生态,这种激进策略使得其他硬件厂商难以跟进,可能抑制技术创新与市场竞争。罗永浩指出,虽然Meta提升了VR产品的成熟度,但其独自亏本销售的模式阻碍了多方资本和智慧参与行业建设,长远来看对VR产业发展的利弊尚难定论。
◐ 降本增效!XR CAMPUS推出基于PICO头显的起重机培训系统

欧洲XR解决方案平台XR CAMPUS正式推出基于PICO头显的VR起重机培训系统。该系统通过虚拟现实技术将传统起重机操作训练沉浸化,解决了实体培训中设备调度难、受天气影响、存在安全风险及可能干扰生产等痛点。学员可在虚拟环境中反复练习操作流程和应对危险工况,实现零风险技能强化;企业则能灵活安排培训,节省协调时间和经济成本,并通过系统提供的评估数据精准化管理培训效果。

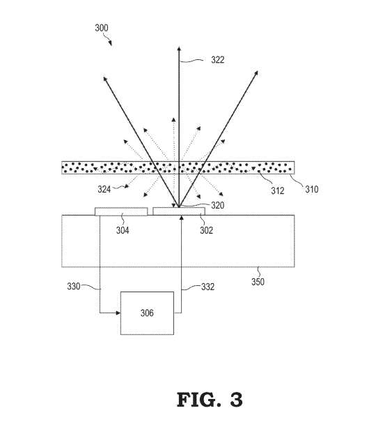
谷歌提出了一种通过间接监测并实时反馈控制来稳定AR眼镜图像质量的技术方案。该技术通过在光学引擎和波导之间设置光转换层,将少量显示光转换为不可见的红外光用于监测,同时利用传感器检测转换光强度变化,通过反馈控制系统实时调整光学引擎的输出功率或光路方向。这种设计既避免了监测系统对用户可见图像的干扰,又能有效补偿因光源老化或组件位移导致的图像质量下降,为AR眼镜提供了长期稳定的显示性能保障。

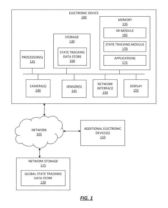
苹果提出了一种针对多用户XR协作场景的会话状态保存与恢复技术方案。该技术通过状态跟踪模块实时监测XR环境中各应用的状态变化,在检测到状态保存事件时自动存储应用状态数据,并聚合生成会话状态信息。当用户重新进入会话时,系统能根据保存的状态数据将应用和会话恢复到中断前的状态,确保多用户协作体验的连贯性。该方案特别解决了XR环境中因设备切换、网络中断等情况导致的会话中断问题,为跨设备、跨时间的多用户XR协作提供了技术保障。
◐ 布局XR中长期未来,日本XR游戏工作室MyDearest吸收合并XR媒体Mogura

日本VR游戏开发发行商MyDearest与XR媒体运营公司Mogura共同宣布,双方将以吸收合并的方式进行经营统合,预计于2026年1月31日正式生效,存续公司为MyDearest。MyDearest旨在通过此次合并强化非游戏业务的长期布局,而Mogura则希望借助对方的执行力加速发展。合并后,Mogura旗下的核心媒体与活动品牌将保持独立运营。双方表示此举将整合内容生产与媒体资源,共同挖掘XR领域的商业与社会价值,此举可能推动日本XR生态的协同发展。
◐ 谷歌联创反思谷歌眼镜惨败:我那时以为自己就是下一个乔布斯

谷歌及Alphabet联合创始人谢尔盖·布林在斯坦福大学的一次演讲中,以谷歌眼镜为例反思了其失败的原因。他坦言自己在推进谷歌眼镜商业化时过于仓促,在产品尚未成熟、成本效益不足的情况下,就因个人心态(自视为“下一个史蒂夫·乔布斯”)而急于推向市场。布林总结了这一教训,建议创业者在推出炫酷的硬件创意前,必须确保产品已经充分完善。文章同时指出,谷歌眼镜因设计、功能、价格及隐私等问题招致批评并于2015年停止,而科技史上此类超前但失败的产品(如苹果Newton)也可能为后续成功(如iPhone)积累经验。
◐ 2025年12月27日美国专利局新申请AR/VR专利摘选

文章整理了2025年12月27日由美国专利及商标局公布的一批AR/VR相关专利,涉及Meta、苹果、三星、高通、Snap、Magic Leap等多家公司。这些专利涵盖了头戴显示设备的硬件设计(如显示面板、散热、光学组件)、用户交互技术(如注视追踪、手势识别、虚拟移动控制)、内容呈现与处理(如注视点渲染、3D映射、AR内容模式切换)以及特定应用功能(如血压测定、媒体数据处理、空间指令)等多个技术方向,反映了当前AR/VR领域的技术研发动态。

哈尔滨工业大学发布采购公告,计划以70万元的预算采购数据手套和VR设备。该项目总预算为130万元,分为两个包,其中“包一”即为数据手套和VR设备采购。项目不接受联合体投标,且专门面向中型、小型或微型企业采购。潜在投标人需在2026年1月5日前到威海市指定地点购买招标文件,投标文件提交截止和开标时间为2026年1月16日下午2点。

深圳交易集团有限公司土地分公司发布公开招标公告,计划采购2026年VR全景看地项目技术服务。项目旨在通过VR全景拍摄,帮助市场主体全方位了解土地出让宗地的位置、现状及周边配套信息,以辅助竞买决策。服务内容包括根据需求及时进行VR拍摄、确保成果适配土地交易平台的PC与移动端、数据统计、流畅的交互跳转、导航等。项目服务期为自合同签订之日起一年,履约优秀可续签,总服务期不超过三年。投标文件递交及开标截止时间为2026年1月8日下午2点半,投标人需为具有独立法人资格的中国境内企业,且不接受联合体投标。


