2025年12月27日美国专利局新申请AR/VR专利摘选
文章相关引用及参考:映维网Nweon
一共更新了28篇专利。
(映维网Nweon 2025年12月27日)近期美国专利及商标局公布了一批全新的AR/VR专利,以下是映维网的整理(详情请点击专利标题),一共28篇。更多专利披露请访问映维网专利板块https://patent.nweon.com/进行检索,你同时可以加入映维网AR/VR专利交流微信群(详见文末)。
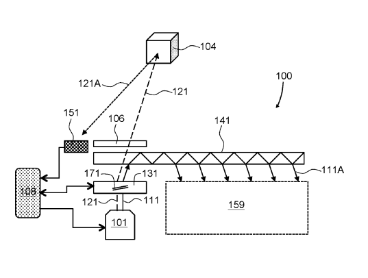
1. 《Meta Patent:3d mapping in 2d scanning display(Meta专利:二维扫描显示中的三维映射)》

在一个实施例中,可穿戴显示设备包括光源、光束扫描仪、瞳孔复制光导和探测器。光源配置为发射图像光束和测距光束。光束扫描仪同时扫描两个光束。图像光束用于在角度域中形成图像,以显示给可穿戴显示设备的用户,同时使用测距光束扫描外部环境。探测器检测到外部环境中物体反射的光,并使用反射信号的飞行时间测量和/或三角测量建立外部环境的3D地图。

......(全文 5085 字,剩余 4734 字)
请微信扫码通过小程序阅读完整文章或者登入网站阅读完整文章
映维网会员可直接登入网站阅读
PICO员工可联系映维网免费获取权限

