映维日报:Quest 3S亚马逊单月卖出10+万台,Vuzix与柯林斯宇航共推军用AR显示系统
本日报由AI生成,可能存在信息错误,具体可查看原文。

◐ 促销显成效,Meta Quest 3S在亚马逊单月卖出10万台

文章介绍了Meta Quest 3S在连续促销与高性价比的推动下,成为亚马逊全品类畅销产品之一。这款入门级VR头显在降至249美元的历史低价后销量大幅增长,仅在亚马逊平台过去30天内就售出超过10万台。与此同时,平台还推出包含《Gorilla Tag》虚拟道具的Cardboard Hero套装等额外优惠,进一步提升了产品吸引力。
◐ 美国技高分享:基于PICO VR的沉浸式急救教育实践与成果

文章介绍了VRSim基于20余年技能培训经验打造的VRNA护理与急救技能培训方案,依托PICO头显为教育机构提供即装即用的沉浸式技能实验室。系统通过逼真的虚拟护理与急救场景,帮助学生反复练习关键技能,降低传统实验室成本,并提升学习投入度与自信心。布拉德‑哈文斯技术高中分享了VR在EMS教育中的显著成效,包括提升参与度、增强决策能力、促进教育公平,并吸引更多学生进入急救职业路径。文章同时指出,VR并非替代传统教学,而是其有效延伸;在区域层面,东哈特福德等地已将VR纳入职业探索课程。未来,AI驱动的虚拟环境将进一步提升临床推理、沟通与现场管理等复杂能力,使沉浸式技术成为培养急救人才的重要支撑工具。

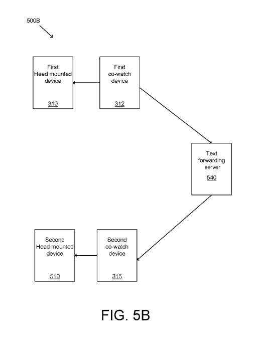
文章介绍了谷歌在一项专利中提出的协同观看文字转译处理负载分配方案,旨在解决多人远程同时观看视频时,各设备独立生成字幕导致的高能耗与低效率问题。该方法通过配置服务器在多设备间动态指定单一设备作为文字转译中心,其他设备仅接收并显示字幕,从而降低整体处理负载与电量消耗。系统会根据设备角色、主机身份、电池电量等因素选择最合适的转译设备,并在协同观看过程中根据重评估事件动态切换角色。专利还描述了设备间通信流程、字幕生成与分发机制,以及在头显与手持设备混合场景下的应用方式,旨在提升协同观看体验、降低延迟并保护用户隐私。

文章介绍了微软在最新专利中提出的一种针对虚拟现实与混合现实头戴设备的帧率自适应调节方法。该方法基于人眼对亮度、颜色、位置、空间频率等视觉刺激属性的敏感度变化,动态调整显示帧率,以在保证无闪烁体验的前提下降低功耗。专利详细阐述了人眼光感受器的生理特性、不同刺激属性对临界闪烁融合阈值的影响,以及设备如何通过检测刺激变化自动降低帧率或在省电模式下调制图像属性以进一步节能。整体方案旨在在不影响沉浸感与舒适度的情况下提升头显续航与能效表现。

文章介绍湖州市第三人民医院发布的公开招标公告,计划以54万元采购3套VR认知评估及训练系统,用于为认知功能障碍等患者提供基于虚拟现实与循证诊疗技术的专业评估与训练服务。项目允许联合体投标,供应商需符合政府采购法规定并未列入失信名单。招标文件通过政府采购云平台线上获取,投标文件需在2026年1月12日14:00前在线提交并邮寄电子备份。公告同时说明了政策执行要求、质疑与投诉流程、开标安排及采购人与代理机构的联系方式等事项。

文章介绍了赤峰建筑工程学校发布的询价公告,计划以35.7394万元采购建筑实训中心所需的MR交互教学实训设备及软件。项目已获批准,资金来源为其他资金,设置为单一标段,不接受联合体投标。公告明确了供应商需满足政府采购法规定的基本条件,并不得存在失信记录。招标文件需在指定时间内现场获取,投标文件以纸质形式递交,开标将在内蒙古拓森工程项目管理有限公司会议室进行。文末提供了监督部门及招标人与代理机构的联系方式。
◐ Vuzix与柯林斯宇航共推下一代军用AR显示系统,预计2026年进入全速生产

文章介绍了Vuzix与雷神技术旗下柯林斯宇航继续深化合作,共同推动基于波导的AR显示系统在美国国防领域的应用。双方已完成下一代可穿戴显示系统的波导显示引擎开发,并进入低速初始生产阶段,计划自2026年起实现全速量产,以支持徒步士兵作战、无人机控制等多项军用项目。Vuzix表示此次合作使其成为柯林斯宇航先进视觉系统的重要供应商,并标志着其国防制造能力的进一步落地,预计2026年第一季度开始向政府客户交付最终硬件。
◐ 2025年12月20日美国专利局新申请AR/VR专利摘选

文章汇总了美国专利及商标局近期公布的41项AR/VR相关专利,涵盖Meta、Apple、Google、Samsung、Sony、Snap、Qualcomm、Magic Leap、Microsoft等多家科技公司的最新技术布局。内容涉及虚拟助手交互、防摔结构、神经肌肉手势输入、眼动追踪、触控检测、虚拟对象操控、音频校准、AR锚定、显示面板结构、投影系统、手势控制、视力矫正、图像处理、试穿体验、手部运动学、车辆AR导航、语音界面、波导照明等多个方向,展示了行业在交互方式、显示技术、空间计算、内容生成与系统优化等方面的持续创新。


