2025年12月13日美国专利局新申请AR/VR专利摘选
文章相关引用及参考:映维网Nweon
一共更新了61篇专利。
(映维网Nweon 2025年12月13日)近期美国专利及商标局公布了一批全新的AR/VR专利,以下是映维网的整理(详情请点击专利标题),一共61篇。更多专利披露请访问映维网专利板块https://patent.nweon.com/进行检索,你同时可以加入映维网AR/VR专利交流微信群(详见文末)。

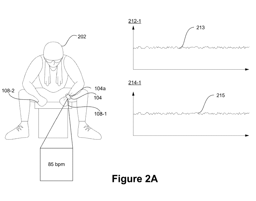
在一个实施例中,从连接到用户佩戴的手腕可穿戴设备的胶囊内的电路板的压力传感器接收接触压力信号,并从连接到电路板的生理传感器接收生理信号。根据基于接触压力信号的第一运动伪影标准得到满足的确定,根据接触压力信号确定对生理信号的第一动作伪影调整,并基于第一动作伪像调整生成第一运动伪像补偿生理信号。基于第一运动伪影补偿生理信号确定生理测量值。
......(全文 11827 字,剩余 11506 字)
请微信扫码通过小程序阅读完整文章或者登入网站阅读完整文章
映维网会员可直接登入网站阅读
PICO员工可联系映维网免费获取权限


