映维日报:Meta代号“凤凰”MR眼镜推迟2027年,Meta部分投资从元宇宙转向AI眼镜
本日报由AI生成,可能存在信息错误,具体可查看原文。

◐ 扎克伯格要求更高品质,Meta代号“凤凰”的MR眼镜推迟至2027年上市

Meta宣布推迟代号为“Phoenix”的混合现实眼镜的发布时间,从原定的2026年下半年延至2027年上半年,理由是确保产品质量和用户体验。相关备忘录显示,公司高管强调需要更多时间完善细节,并拒绝在可靠性上妥协。据报道,该设备采用护目镜式设计并需外接独立计算单元,外形类似Apple Vision Pro。与此同时,Meta计划在2026年推出限量版可穿戴设备“Malibu 2”,并正在开发新一代Quest设备,重点提升沉浸式游戏体验和单机性能。此次调整反映了Reality Labs在硬件路线图上的战略变化。

Meta官方宣布将调整Reality Labs的投资方向,把部分资金从元宇宙业务转向AI眼镜与可穿戴设备。此前媒体报道Reality Labs预算可能削减高达30%,主要影响VR头显和Horizon Worlds平台,并可能伴随裁员。调整原因在于元宇宙业务发展未达预期且Reality Labs累计亏损超过600亿美元,而智能眼镜销量却持续增长,Ray-Ban Meta眼镜已成为市场亮点并提前实现年产能目标。随着VR业务增长停滞,智能眼镜的成功促使Meta在苹果和谷歌等竞争者进入市场前,进一步巩固其在该领域的领先地位。
◐ PICO+法拉利博物馆:带你VR穿越,亲历传奇车手的最后一圈

PICO宣布与MIAT合作,成为沉浸式艺术现场体验《Black Cats & Chequered Flags》的独家XR技术伙伴。该作品融合电影化世界构建、档案叙事、混合现实与空间音频,观众可通过PICO VR设备进入法拉利传奇冠军车手阿尔贝托·阿斯卡里的内心世界,感受其职业生涯与宿命色彩。作品已在威尼斯国际电影节首映,并开启全球巡展,首站设于意大利法拉利博物馆。体验内容包括对阿斯卡里最后一圈的诗意再现、1950年代风貌的全景视觉、沉浸式空间音频及多人互动环境,展现了VR技术在文化叙事中的独特价值。

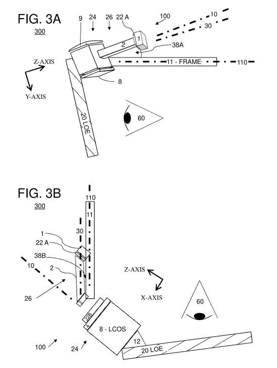
Lumus在一份专利申请中提出了一种允许光管绕其输出光轴旋转的装置,旨在解决传统光管与眼镜镜腿无法对齐而影响美观的问题。该设计通过保持光管输出光的旋转对称性,使光管能够灵活适配不同用户的镜框角度或波导倾斜度,从而在无需重新设计光管的前提下优化设备集成外观并降低定制化成本。专利详细描述了光管与投影光学器件的结构关系、光传播过程及旋转实现方式,强调该装置可在保持光学性能的同时改善AR眼镜的美观性与适配性。该专利名为“Rotatable lightpipe”,于2025年7月提交并由美国专利商标局公布。
◐ 谷歌XR专利提出基于上下文感知的用户输入事件检测方法与系统

谷歌在一份专利申请中提出了一种基于历史交互数据训练的上下文模型,用于提升XR设备的交互精度。传统依赖摄像头和传感器的方式容易因用户动作相似而误判,该专利通过引入Transformer编码器-解码器,将实时传感器数据与用户习惯和UI状态结合,生成更可靠的输入事件判断。系统可同时利用近眼显示器、智能手机和智能手表的传感器数据,结合上下文分值计算输入事件值,并与阈值比较以触发虚拟内容变更。该方法显著提高了手势、视线等交互的准确性,改善用户体验。该专利名为“Context-based user input control of near-eye displays”,于2024年5月提交并由美国专利商标局公布。
谷歌在一份专利申请中提出利用多耦入器与重叠光线足迹的设计方法,以在保持XR眼镜设备轻薄美观的同时扩大视场角。传统光学系统受限于体积和镜片尺寸,难以兼顾宽视场与时尚外观,而该方案通过将显示光分为多个角度范围输入波导,并在出瞳扩展器处重叠,从而减少光线足迹并支持更大视场。专利详细描述了多耦入器、出瞳扩展器和耦出器的配置方式,强调在不增加镜片尺寸的情况下实现宽视场和美观外形。该专利名为“Waveguide input coupler multiplexing to reduce exit pupil expansion ray footprint”,于2024年11月提交并由美国专利商标局公布。
◐ 2025年12月06日美国专利局新申请AR/VR专利摘选

美国专利及商标局近期公布了一批共60多篇AR/VR相关专利,涵盖Meta、谷歌、苹果、微软、三星等多家科技企业。专利内容涉及头戴式与腕戴式设备交互、姿态驱动的虚拟空间配置、手势识别与神经肌肉信号控制、显示器与光学系统设计、Micro LED自监测、文本解释与语音视觉传输、环境自适应显示、数字助理交互、摄像头轨迹生成、传感器融合、听力配件、可调头显、激光显示控制、沉积掩模、显示器制造方法及性能优化等多个方向。这些专利集中展示了XR设备在交互方式、显示技术、硬件结构和用户体验上的持续探索与发展,反映了产业在提升设备轻量化、美观性、功能性和沉浸
◐ PICO商店年度作品评选现已开放公众投票,特设“年度杰出贡献网友”奖

PICO商店年度评选活动已正式启动,旨在表彰近年来对VR内容生态有重要贡献的优质作品,并通过社区投票机制推动内容品质与多样化发展。官方投票渠道现已开放,公众可参与决定奖项归属。活动特别设立“年度杰出贡献网友”奖项,鼓励用户在商店或社交平台发布深度评论与合规内容。评选持续至12月31日,设有优秀评论、内容种草爆款和有奖竞猜三大板块,均配备明确的参与标准与奖励机制。投票结果将直接影响最终奖项评定,全面体现社区共建VR生态的意义。
◐ 福州市园开安筑建设有限公司33.125万元采购左海紫阳隐翠VR电子沙盘

福州市园开安筑建设有限公司发布重新招标公告,计划以33.125万元采购左海紫阳隐翠VR电子沙盘。项目编号为福顺恒2025政招字第A-274号,预算金额与最高限价均为331,250元,保证金为6600元。供应商需具备合法营业执照、财务审计报告或资信证明、税收与社保缴纳凭证,并提供信用记录查询结果和相关声明,且不接受联合体投标。采购文件售价200元,获取截止日期为2025年12月11日,响应文件递交截止时间为12月15日15时30分,届时将在福州中心海易招电子招标投标交易平台开标。


