映维日报:苹果XR专利提出端到端房间布局估算引擎,Ray-Ban Meta降价20%
本日报由AI生成,可能存在信息错误,具体可查看原文。

◐ 降价20%促销!Ray-Ban Meta智能眼镜开启黑五优惠

Meta在2025年黑色星期五期间对第一代Ray-Ban Meta智能眼镜进行限时促销,价格从原价约300美元降至239-240美元。该促销活动从即日起持续至12月1日,在美国、欧洲、澳大利亚等多国同步开展,消费者可通过Meta官网、亚马逊等多个渠道购买。第一代产品具备1200万像素摄像头、4小时续航等功能,同时Meta官网还提供配镜片8折优惠。
◐ 《浪浪山小妖怪》上线PICO,参与互动赢线下大空间体验资格

动画电影《浪浪山小妖怪》推出XR版本,在爱奇艺XR平台上线3D电影版的同时,基于该IP打造的沉浸式互动内容《浪浪山小妖怪:妖你同行XR》已在全国16家线下门店推出。该作品由多家公司联合开发,采用高精度建模技术重现电影中的水墨风场景,让用户通过扮演小猪妖参与互动冒险。为推广该体验,PICO平台举办有奖活动,参与者可通过在论坛发帖分享故事赢取免费体验券,活动截至11月23日,计划选出10位获奖用户。
◐ 2025年11月22日美国专利局新申请AR/VR专利摘选

2025年11月22日,美国专利商标局公布了一批全新的增强现实和虚拟现实相关专利,共计56篇,由映维网整理。这些专利涵盖了硬件设计、交互技术、显示系统、内容生成等多个方面,涉及Meta、苹果、谷歌、高通、三星、索尼、Snap、HTC等多家科技公司。具体技术内容包括触觉文件转换、波导显示、手势识别、视线追踪、3D模型生成、图像处理等,反映了当前AR/VR领域的技术研发重点和方向。

中兴通讯推出基于5G-A技术的VMAX虚拟现实电影解决方案,该方案整合了EasyOn·Meta专网和数字星云XRExplore元宇宙引擎,通过网媒融合策略解决传统行进式VR电影在运营效率、设备体验和内容创作方面的痛点。系统支持100路并发用户、4K@90fps超高清画质传输,利用边缘云渲染技术实现动态资源调度,并具备多品牌头显兼容性,旨在降低VR电影开发成本并推动文化数字化应用发展。
◐ 从文本到沉浸式3D世界,Meta发布端到端系统WorldGen

Meta发布了一项名为WorldGen的端到端系统,能够根据单一文本提示生成交互式且可导航的3D世界。该系统结合了程序化推理、基于扩散模型的3D生成和场景分解技术,可生成几何结构一致、视觉效果丰富的场景,覆盖范围达50x50米,并能保持风格和几何结构的完整性。WorldGen生成的内容与Unity和Unreal等标准游戏引擎兼容。不过,这项技术目前仍处于研究阶段,尚未对开发者开放,未来版本将致力于生成更大的空间并降低延迟,以降低3D内容创作的门槛。

西班牙PortAventura World主题乐园推出名为”ULUM探险:侏罗纪觉醒”的沉浸式体验项目,游客通过佩戴PICO 4 Ultra Enterprise头显进入墨西哥尤卡坦半岛天然井的虚拟场景,与数字生成的侏罗纪生物互动。该项目将实体布景与扩展现实技术相结合,支持游客以小组形式自由移动,通过隐形化的技术处理让参与者专注于叙事体验,展现了XR技术在主题乐园中打破传统边界、创造家庭娱乐新形式的创新应用。

Shoei公司推出首款完全集成增强现实技术的摩托车头盔GT-Air 3 Smart,该产品在面罩中内置平视显示器,可将车速、导航信息、来电提醒等骑行数据投射到用户前方三米处的视场中。采用纳米OLED显示屏技术确保阳光直射下的可视性,配备通用对讲系统和主动降噪麦克风,支持语音助手功能,电池续航超过10小时。产品符合DOT和ECE 22.06安全标准,提供五种颜色选择,售价1199美元。

美国西北大学研究团队开发出名为VoxeLite的超薄可穿戴触觉设备,首次实现”人类分辨率”的触觉反馈。该设备采用柔性乳胶片设计,内含可独立控制的微型节点阵列,节点间距最小达1毫米,能以每秒800次的速度精准模拟纹理触感。测试显示佩戴者识别虚拟纹理和真实织物的准确率分别达到87%和81%。VoxeLite具备主动和被动两种工作模式,在主动模式下可生成精细触觉信号,被动模式下则几乎无感佩戴,允许用户在真实与数字体验间无缝切换。这项技术为虚拟现实系统提供了接近真实触觉的交互能力。

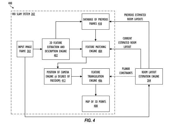
苹果公司提出了一种端到端的房间布局估计引擎,该技术通过析取范式模型直接从图像学习平面参数,无需后处理即可生成完整的三维房间布局。该引擎能够为地板、墙壁、天花板等不同房间布局类别分别生成预测平面,然后将这些平面拼接形成最终布局估计。与传统方法相比,该技术不受曼哈顿世界假设和固定布局类型的限制,能够处理曲面结构和复杂场景,提高了在XR环境中几何建模的精度和计算效率,并可集成到视觉惯性里程计SLAM系统中提升特征匹配和三维重建的准确性。

纽约大学坦登工程学院研究团队针对虚拟现实系统中高质量实时渲染的挑战,提出了一种名为A3FR的创新框架。该框架通过并行化架构设计,将注视跟踪任务分配给CPU处理,同时由GPU执行3D高斯飞溅渲染,并结合渐进式注视预测和增量渲染策略,有效降低了系统延迟。实验结果表明,A3FR能在1080p分辨率下将渲染延迟从传统全分辨率渲染的67毫秒降至40毫秒,降幅达2倍,同时通过用户研究验证了其视觉质量与全分辨率渲染无显著差异。这一技术为下一代轻量化VR设备的发展提供了新的技术路径。
◐ 以色列与Meta团队开发可穿戴阵列Ambisonics编码器改进双耳再现

以色列本·古里安大学与Meta的研究团队提出一种改进的Ambisonics编码器,专为非理想布局的可穿戴麦克风阵列设计。该方法通过构建联合损失函数,将Ambisonics信号匹配(ASM)和双耳信号匹配(BSM)目标整合在一个优化框架内,利用平衡参数α在Ambisonics编码准确性和双耳再现质量之间实现灵活权衡。仿真实验基于5麦克风眼镜阵列和刚性球头模型,结果表明当α=0.5时,该方法在仅轻微增加双耳误差的同时,显著降低了Ambisonics通道重建误差,为VR/AR应用提供了兼顾格式通用性与听觉真实性的编码方案。

朔州市朔城区第八中学校发布VR智慧教室建设项目招标公告,预算金额37万元,采购内容包括VR智慧教室建设的货物供应、运输、培训及售后服务。该项目专门面向中小企业采购,潜在投标人需通过中国政府采购网山西分网获取招标文件,并于2025年12月10日9点30分前提交投标文件,开标采用远程方式进行。

云南民族大学发布二次公告,计划以43.95万元预算采购虚拟现实一体化无人机智慧飞行平台,包含无人机机库、机载计算板卡、小型旋翼无人机平台及虚拟仿真云平台等设备。项目采用公开招标方式,要求投标人提供整体解决方案,合同履行期为签订后30个工作日内完成安装调试。投标文件需在2025年12月15日前递交,招标代理机构为云南中咨海外咨询有限公司。该项目明确不接受进口产品投标。

广西工商职业技术学院发布公告,计划以35万元预算采购虚拟现实技术应用专业课程资源包,包括虚拟现实引擎应用、插件应用、硬件开发和项目开发四个基础课程资源包,以及3年产教融合服务、裸眼3D创作软件和共享云平台等配套资源。项目采用竞争性磋商采购方式,供应商需通过微信公众号平台获取采购文件,响应文件提交截止时间为2025年12月1日。采购要求供应商符合政府采购法相关规定,且未被列入失信名单。
◐ 石家庄信息工程职业学院25万元招标劳动教育VR教学资源项目

石家庄信息工程职业学院发布公告,计划以25万元预算开展劳动教育VR基础教学资源项目招标。该项目专门面向小型或微型企业采购,要求投标人符合政府采购法规定且无不良信用记录。招标文件需在2025年11月27日前通过邮箱报名获取,投标截止时间为12月4日,开标将在石家庄市裕华区指定地点进行。项目不允许联合体投标,招标代理机构为鑫标点工程管理有限公司。

