2025年11月22日美国专利局新申请AR/VR专利摘选
文章相关引用及参考:映维网Nweon
一共更新了56篇专利。
(映维网Nweon 2025年11月22日)近期美国专利及商标局公布了一批全新的AR/VR专利,以下是映维网的整理(详情请点击专利标题),一共56篇。更多专利披露请访问映维网专利板块https://patent.nweon.com/进行检索,你同时可以加入映维网AR/VR专利交流微信群(详见文末)。

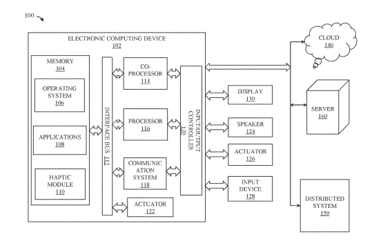
在一个实施例中,将文件或压缩或未压缩的音频信号转换为通用触觉文件格式。通用触觉文件格式可以在不同的硬件执行,以产生身临其境的触觉效果。文件格式转换器系统分析音频信号或识别文件的类型和格式。然后,系统分析音频信号,将其分解为每个频带的幅度时间值、频率时间值和幅度频率时间值。当输入是文件时,它传递给转录模块,模块确定文件是否可以转录为通用触觉文件格式。如果是,转录模块将触觉文件转录为通用文件格式,并将其传递给文件验证模块。然后,文件验证模块扫描并转录触觉文件,以确保包括不同频带的时间振幅频率值,并生成通用触觉文件。如果触觉文件包含元数据,并且转录模块确定触觉文件不能通过转录进行转换,则文件格式转换器使用元数据模块提取元数据和相关触觉值,将其转换为时间振幅频率值,然后将其传递给文件验证模块进行验证。
......(全文 9834 字,剩余 9346 字)
请微信扫码通过小程序阅读完整文章或者登入网站阅读完整文章
映维网会员可直接登入网站阅读
PICO员工可联系映维网免费获取权限


