谷歌XR专利分享实时后台眼动追踪校准技术
在无需用户主动参与的情况下维持高精度眼动追踪
(映维网Nweon 2025年11月18日)对于XR设备,传统眼动追踪系统存在需要中断性校准,从而影响用户体验的问题。所以在一份专利申请中,谷歌提出通过动态实时校准技术,利用用户与标准UI元素的自然交互(如点击按钮、拖动滑块)在后台持续优化校准参数,从而在无需用户主动参与的情况下维持高精度眼动追踪,显著提升了XR交互的沉浸感和实用性。

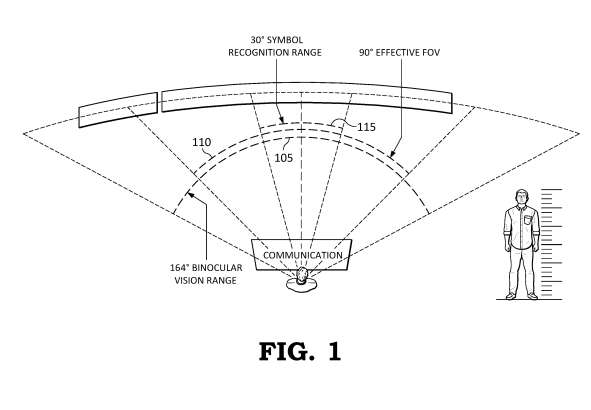
图1示出了各种光学视场范围,包括人眼双目视觉视场范围105、示例头显设备视场范围110和人眼符号识别视场范围115。双目视觉视场范围105代表双眼共同提供视觉输入的总角度跨度,通常能在广阔区域内实现深度感知和空间意识。相比之下,符号识别视场范围115表示一个更有限的中心区域,在此区域内可以可靠地感知和解释精细细节——例如阅读文本或识别小型图形元素。
眼动追踪系统的传统校准方法通常要求用户参与明确的、针对特定任务的校准程序,这可能会中断交互的自然流程并降低整体用户体验。对于需要频繁或无缝使用的场景,此类程序可能令人疲劳且不切实际。
......(全文 5097 字,剩余 4687 字)
请微信扫码通过小程序阅读完整文章或者登入网站阅读完整文章
映维网会员可直接登入网站阅读
PICO员工可联系映维网免费获取权限


