Lumus专利提出复合聚合物光导结构解决XR设备粘接热膨胀问题
采用特定叠层聚合物结构
(映维网Nweon 2025年11月12日)对于XR设备,光导光学元件(LOE)与保护性透明板(如聚碳酸酯板)之间可能存在粘接问题,这是因为材料间热膨胀系数差异导致的粘接层易断裂、光散射以及全内反射失效等。
在一项专利申请申请中,Lumus提出通过采用特定叠层聚合物结构,在确保机械可靠性的同时维持光学性能,从而提升XR设备显示模组的稳定性与图像质量。

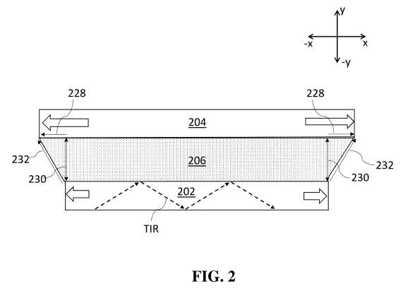
图2示出使用粘合剂层将材料层附着到光导。可以使用粘合剂层206将材料层(例如,透明板),诸如聚碳酸酯板204,设置到光导202上。在一个实施例中,图示为聚碳酸酯板204的材料层可以是聚合物、玻璃或其他形成透明板或透明材料层的材料。粘合剂206可用于将光导202的表面附着到聚碳酸酯板204的表面。
在图2所示的示例中,虚线箭头表示由光导202内的反射器反射的(TIR)导光。聚碳酸酯板204显示为具有平坦的顶面,然而,聚碳酸酯板204的顶面也可以是弯曲的。在一个方面,粘合剂206可以足够柔韧以适应热膨胀,同时具有相对于光导202较低的折射率,使得光导202内的TIR得以保持。
聚碳酸酯板204和光导202会膨胀,例如在±x方向上水平膨胀。由于聚碳酸酯板204和光导202之间的热膨胀系数(CTE)不同,粘合剂206附着到聚碳酸酯板204的表面会比粘合剂206附着到光导202的表面膨胀得更快。例如,如果聚碳酸酯板204和光导202都经历30摄氏度的温度变化,光导202可以横向(沿x轴)膨胀约3微米,而聚碳酸酯板204可以横向膨胀约32微米。因此,如图2中的相对膨胀228所示,聚碳酸酯板204和光导202之间的膨胀差或相对膨胀约为29微米。
......(全文 5311 字,剩余 4763 字)
请微信扫码通过小程序阅读完整文章或者登入网站阅读完整文章
映维网会员可直接登入网站阅读
PICO员工可联系映维网免费获取权限


