映维日报:太泊湖白子山123万招标VR馆项目,谷歌XR专利提出反射波导面的图像旋转控制
本日报由AI生成,可能存在信息错误,具体可查看原文。


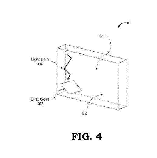
谷歌针对传统AR眼镜中反射波导面导致的图像旋转和反转问题,提出一种新型图像旋转控制方案。该方案通过调整波导中反射面的角度和方向,使光线能够从一个表面穿透反射面传播到另一相对表面,而非传统地将光线反射回同一表面。这种设计减少了图像旋转和反转量,允许显示源与显示图像方向基本一致(差异小于15度),从而为AR眼镜等设备提供更小、更紧凑的外形设计灵活性。方案涉及耦入器、出瞳扩展器和耦出器的反射面重新配置,通过特定角度(如20-45度)实现光路优化,解决了传统45-60度反射角带来的设计限制。

PICO Business Device Manager企业级设备管理器推出两项核心功能升级:视频加密支持通过管理平台配置访问权限,保护敏感媒体内容安全;实时屏幕与音量管理允许远程调节设备亮度及音量参数,无需物理接触头显。升级旨在提升企业用户在设备部署、安全管控及能效优化方面的操作效率与综合管理能力。

科研工作者泰勒研究发现,虚拟现实头显可有效帮助宇航员缓解太空飞行中的晕动症状,包括太空晕动症和返回地球后的再适应晕动症。传统药物干预存在嗜睡等副作用且可能失效,而VR技术通过提供模拟视觉场景(如侧窗或前窗视图),显著降低恶心反应发生率,使退出实验的受试者比例从三分之二减少至十分之一。该方案无需依赖药物,避免了保质期、稳定性及副作用问题,尤其适用于返回舱水上着陆等需保持警觉的紧急场景,为宇航员环境适应提供了更安全、高效的解决方案。
◐ 香港科大提出因果强化学习新框架,显著提升多用户VR交互体验

香港科技大学研究团队针对多用户虚拟现实交互中的体验质量优化问题,提出了一种融合自适应关键帧提取与因果感知强化学习的智能框架。该框架首先基于韦伯-费希纳定律构建了综合感知灵敏度、注意力优先级和运动重建精度的新型QoE度量指标,并将优化问题建模为混合整数规划任务。团队开发的PS-CDDPG算法通过状态划分和噪声主动探索策略,显著提升了训练效率。实验结果表明,该方案在降低交互延迟、保证用户公平性和提升QoE方面均优于传统方法,为资源受限环境下的VR体验优化提供了有效解决方案。

江西承和文化旅游发展有限公司发布招标公告,计划以128.0765万元预算建设彭泽县太泊湖白子山VR馆项目。该项目采用公开招标方式,要求投标人具备独立法人资格、良好商业信誉及完税记录,且未被列入失信名单,不接受联合体投标。招标文件可于2025年11月10日至14日期间在江西君志恒工程管理有限公司彭泽分公司免费获取,投标文件递交及开标时间为11月28日9时30分。项目资金为国有资金,由招标人自主监管,投标人需提供营业执照副本、法定代表人授权书等材料参与竞标。

汉莎航空培训公司联合德国联邦交通部、苏黎世联邦理工学院等机构,开发了一套价值240万欧元的VR乘务员安全培训系统D-CEET。该系统通过空客A320neo客舱的数字孪生模型,模拟烟雾、火灾、紧急撤离等15种场景,并记录学员动作和决策数据用于个性化分析。该便携式系统可随时随地进行培训,补充而非取代实体模拟器,符合国际民航组织能力本位培训标准,旨在提升培训灵活性及数据驱动的科学评估能力,是汉莎航空数字化转型的重要组成部分。
◐ 江苏食品药品职业技术学院49万招标虚拟仿真实训室VR软件

江苏食品药品职业技术学院发布招标公告,计划以49万元预算采购13套虚拟仿真实训室VR软件,要求软件必须匹配学院现有的PICO A9210型号VR一体机设备。投标人需具备独立法人资格、良好商业信誉及完税记录,且未被列入失信名单,不接受联合体投标。招标文件可通过江苏省招标中心有限公司电子平台免费获取,需支付500元平台服务费。投标文件递交截止时间为2025年11月28日9时,开标同步进行。项目资金已落实,由学院监督部门全程监管。

甘肃中医药大学附属医院发布招标公告,计划以19.8万元预算采购VR认知训练系统,项目资金为医院自筹。投标人需在2025年11月10日至14日期间前往兰州诚信招标代理有限公司免费获取招标文件,并于11月20日15时前递交投标文件。该项目不接受联合体投标,开标将于投标截止时间同日在代理机构开标厅进行。招标过程由医院监督部门监管,具体技术参数及要求详见招标文件附件。
◐ 东北大学356.75万元采购工业智能虚拟现实教学实验平台

东北大学发布招标公告,计划以356.75万元预算采购工业智能虚拟现实教学实验平台,项目编号为DDWK2025126。投标人需满足政府采购法第二十二条规定,不接受联合体投标。招标文件需在2025年11月13日前通过邮箱申请获取,费用500元,投标截止时间为2025年11月27日10时30分。采购要求落实节能环保、小微企业等政府采购政策,合同履行期限为签订后30个工作日。项目由辽宁尧舜禹项目管理有限公司代理,开标地点设在东北大学计算机中心。
◐ 广东科学技术职业学300万采购虚拟现实资源开发大模型平台

广东科学技术职业学院发布公开招标公告,计划以300万元预算采购一套虚拟现实资源开发大模型平台,包括虚拟现实资源开发管理平台和虚拟现实资源开发大模型一体机。该项目不接受联合体投标,要求投标人符合政府采购法第二十二条规定的条件,未被列入信用中国及中国政府采购网的严重失信名单。投标文件需通过广东省政府采购网在线提交,截止时间为2025年11月27日9时30分。



