映维日报:PICO启动多人游戏狂欢节,谷歌专利提出反射波导光瞳复制器
本日报由AI生成,可能存在信息错误,具体可查看原文。


苹果公司正式发布了visionOS 26.1系统更新,这是继9月份visionOS 26推出后的首次重大升级。新版本主要新增了iPad版Apple Vision Pro应用程序,允许用户通过iPad探索Vision Pro的内容与空间体验,同时新增了AirPlay投屏功能,支持在iPhone和iPad上观看Vision Pro的沉浸式内容,并优化了空间画廊的视频播放控制界面。
◐ 解锁VR社交派对打开方式,PICO正式启动多人游戏狂欢节

PICO于2025年11月4日至23日举办多人游戏狂欢节活动,通过组队开黑、录屏投稿和社群投票等互动形式,为用户提供游戏折扣券及京东卡奖励。活动设置指定游戏周主题,鼓励用户在《多合一运动VR》《突击行动》等游戏中组队互动,并通过录制游戏视频参与评选,旨在提升VR社交体验和用户参与度。

微软公司提出了一种利用多线性调频脉冲FMCW雷达实现头显传感器智能激活的技术方案,该专利通过低功耗雷达系统(功耗低于10毫瓦)实时监测用户肢体位置和运动状态,仅在检测到用户手部等关键部位进入追踪范围时,才选择性激活高功耗的图像追踪系统(功耗达数百毫瓦)。系统采用高低带宽交织的线性调频脉冲组合,高带宽信号(6.8GHz)用于精确追踪近距离目标,低带宽信号(3.4GHz)用于监测远距离肢体,配合事件检测模块实现传感器的动态管理,可显著降低设备功耗并避免过热问题。该技术方案已于2024年4月提交专利申请。

谷歌公司为解决反射式波导在增强现实设备中光瞳重叠不均匀的问题,提出了一种集成光瞳复制器的创新设计方案。该专利通过在波导小面处设置基本平坦的光瞳复制表面,并配合特殊薄膜层和粘合工艺,有效改善了光线在波导内的传播均匀性,同时避免了传统方案可能导致的光学干扰、空间限制和对准困难等问题。该技术可应用于AR/MR头显设备,通过优化光路设计提升显示质量,专利已于2024年4月提交申请。
◐ 内蒙古师范大学附属第二中学64万招标建设VR虚拟实验室项目

内蒙古师范大学附属第二中学发布招标公告,计划以64.3万元预算建设VR虚拟实验室,项目资金来源于国有资金,采用公开招标方式。投标人需符合政府采购法相关规定且未被列入各类失信名单,不接受联合体投标。招标文件需在2025年11月10日前现场获取,投标文件递交截止时间为11月25日9时,开标将在呼和浩特市海亮广场A座会议室进行。项目由中资国际工程咨询集团有限责任公司代理招标。

珠海市第三人民医院发布公开招标公告,计划以23万元预算采购AI多模态心理健康系统和VR虚拟身心训练系统,项目最高限价22万元,要求投标人为符合政策要求的中小企业。投标人需满足政府采购法相关规定且未被列入各类失信名单,招标文件需在2025年11月10日前购买,投标截止时间为11月24日9时30分。项目要求合同签订后15个日历日内完成设备供货安装并确保正常运行,招标代理机构为广东森宇工程项目管理有限公司。

中国电子科技集团有限公司电子科学研究院发布公开招标公告,计划采购平台模拟体验系统和VRAR仿真态势展示设备,项目资金为国拨资金,要求投标人为具有独立承担民事责任能力的国内企事业单位,需提供财务审计报告、同类项目业绩及信用中国网站信用报告,投标文件递交截止时间为2025年11月24日。

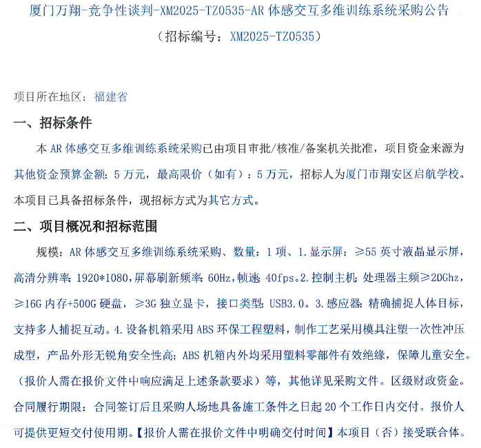
厦门市翔安区启航学校发布公告,计划以5万元预算采购一套AR体感交互多维训练系统,该系统需包含55英寸高清显示屏、高性能控制主机及精确人体感应器等组件,要求合同签订后20个工作日内完成交付。项目采用竞争性谈判采购方式,潜在供应商需在2025年11月7日前提交投标文件,招标代理机构为厦门万翔招标有限公司。该系统将用于学校教学训练,具备多人互动捕捉功能,设备设计符合儿童安全标准。

苏州碑刻博物馆(苏州文庙管理所)发布公告,计划以16万元预算采购青少年AR社教绘本提升出版项目,内容包括500套AR社教绘本及相关图文编撰、出版发行服务。该项目要求投标人具备独立法人资格和有效出版许可证,采用询价采购方式,投标文件需在2025年11月7日前提交至指定地点,合同履行期限为2026年10月31日前完成全部采购内容。项目不接受联合体投标,招标代理机构为苏州正杰招投标咨询服务有限公司。

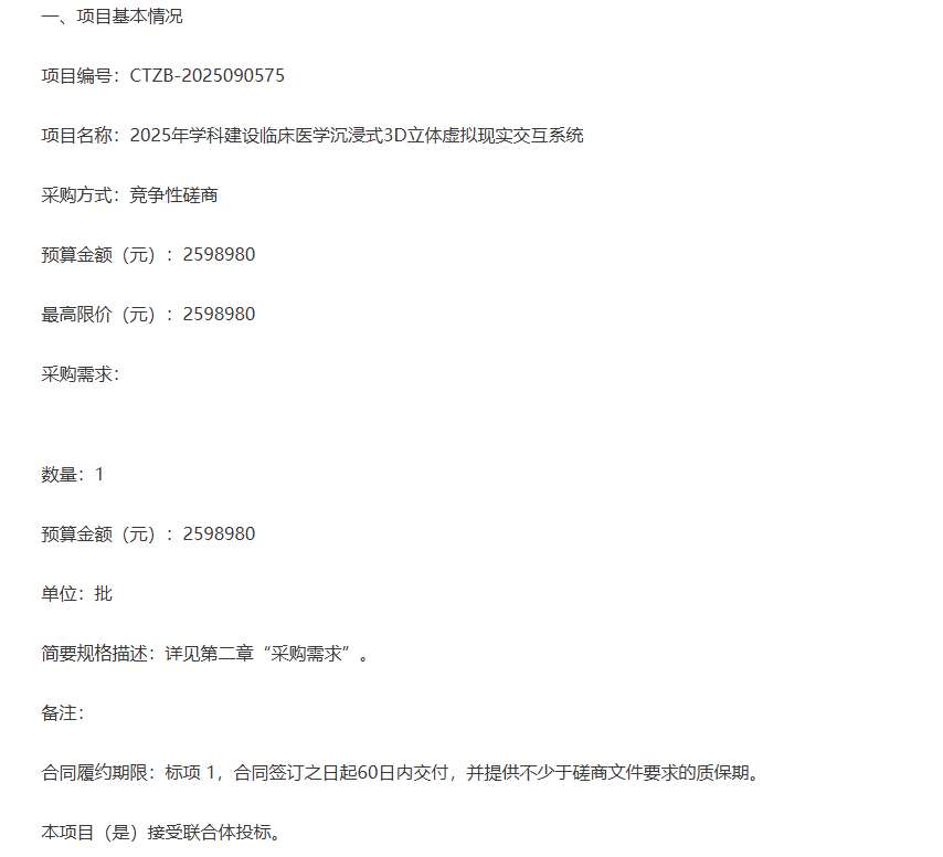
浙江树人学院发布采购公告,计划以259.898万元预算通过竞争性磋商方式采购一套临床医学沉浸式3D立体虚拟现实交互系统,该项目编号为CTZB-2025090575,要求供应商在合同签订后60日内完成交付,并明确了供应商需通过政采云平台参与投标的具体流程和时间节点。
◐ 襄阳职业技术学院采购智能网联汽车虚拟仿真VR交互系统公告

襄阳职业技术学院本级计划以189.2万元预算采购一套智能网联汽车虚拟仿真VR交互系统,该项目专门面向软件和信息技术服务业的中小微企业,采用竞争性磋商方式采购。潜在供应商需在湖北省政府采购电子交易数据汇聚平台或布络供应商客户端获取采购文件,并于2025年11月13日09点30分前通过供应商客户端提交响应文件,开标将于同一时间在电子交易系统开标大厅进行。


