2025年11月01日美国专利局新申请AR/VR专利摘选
文章相关引用及参考:映维网Nweon
一共更新了49篇专利。
(映维网Nweon 2025年11月01日)近期美国专利及商标局公布了一批全新的AR/VR专利,以下是映维网的整理(详情请点击专利标题),一共49篇。更多专利披露请访问映维网专利板块https://patent.nweon.com/进行检索,你同时可以加入映维网AR/VR专利交流微信群(详见文末)。
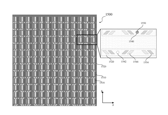
1. 《Meta Patent:Photo spacer and column spacer design for lcd display(Meta专利:液晶显示器的光间隔物和柱状间隔设计)》

在一个实施例中,近视显示器的液晶显示器包括第一基板、第二基板、形成在第二基板上的多个光间隔物、形成在第一基板上的多根柱状间隔物以及位于第一基板和第二基板之间的区域中的液晶材料。多个柱状间隔物中的每个柱状间隔物包括两个部分,这两个部分形成凹部,用于接收多个光间隔物中相应的光间隔物。多个光间隔物中的每个光间隔物包括两个部分,这两个部分形成凹部,用于接收多个柱状间隔物中相应的柱状间隔物。在一些实施例中,多个柱状间隔物包括具有不同或相同高度的不同类型的柱状间隔物,并且多个光间隔物包括不同或相同长度的不同类型光间隔物。
......(全文 9362 字,剩余 8970 字)
请微信扫码通过小程序阅读完整文章或者登入网站阅读完整文章
映维网会员可直接登入网站阅读
PICO员工可联系映维网免费获取权限


