映维日报:Quest 3S降价促销,三星XR头显卖2000美元,亚马逊推出快递专用AI眼镜
本日报由AI生成,可能存在信息错误,具体可查看原文。


Meta公司针对苹果M5版Vision Pro和三星Galaxy XR的发布,推出了Quest 3S头显的限时促销活动。128GB版本现售价249.99美元(原价节省50美元),256GB版本售价330美元(节省70美元),两款套餐均包含《蝙蝠侠:阿卡姆之影》游戏和3个月的Horizon+游戏订阅服务。文章建议消费者可关注11月底黑色星期五期间可能出现的更大折扣活动,特别是考虑到《死侍VR》即将发售以及多款新款头显相继面世的市场情况。

三星正式推出首款基于Android XR平台打造的Galaxy XR头显设备,售价1800美元(控制器需单独购买,250美元),首批面向美国和韩国市场发售。该设备通过与谷歌、高通合作开发的多模态AI系统集成Gemini技术,提供自然交互的沉浸式体验,支持语音、视觉和手势操作,并兼容现有Android应用及OpenXR标准开发内容。Galaxy XR采用人体工学设计,配备4K Micro-OLED屏幕、骁龙XR2+ Gen 2芯片和2.5小时续航电池,聚焦娱乐、办公及企业培训场景,未来将扩展至AI眼镜等形态。核心功能包括3D地图导航、视频空间化转换及多任务体育观赛等,同时公布详细硬件参数如109度视场角、545克机身重量等。

亚马逊推出专为配送人员设计的智能眼镜,旨在通过AI传感技术和计算机视觉提升配送安全性和效率。该眼镜配备平视显示器,可实时显示导航信息、包裹扫描指引和送达证明采集功能,减少配送员对手机的依赖。产品开发过程中邀请了数百名配送员参与测试,确保佩戴舒适度和显示清晰度。眼镜配备可更换电池、紧急按钮控制器,并支持处方镜片和自动调光功能。亚马逊计划未来扩展该系统的功能,包括实时错误检测(如包裹投递地址验证)、环境风险提示(光线昏暗预警、院内宠物检测)等,构建端到端的智能配送解决方案。

苹果公司宣布搭载M5芯片的新款Apple Vision Pro正式发售,但确认不会为该设备提供以旧换新或折抵换购服务。这意味着现有头显用户无法通过官方渠道折抵旧设备来升级至新款。起售价仍为29999元,与M2版本相同。分析指出,由于两款设备主要区别在于芯片性能,其他方面差异不大,现有用户升级需求可能有限,加上用户基数较小,因此苹果未投入资源提供此项服务。

三星Galaxy XR头显发布后,其可选配的控制器在美国市场开售数小时后即告售罄。该控制器售价250美元(首发限时优惠价175美元),需单独购买且不包含在1800美元的头显基础价格中。值得注意的是,三星一直强调Galaxy XR的主要定位是生产力、创造力和娱乐设备,而非专注于VR游戏体验,这解释了控制器为何采用单独销售策略。然而控制器快速售罄的现象表明,许多购买者仍希望将设备用于传统VR体验。目前三星未透露具体库存数量和补货时间,控制器选项已从其美国官网暂时下架。

三星新发布的Galaxy XR头显虽然价格低于苹果Vision Pro,但其配套控制器因定价249美元而引发争议。科技媒体Sammobile发文指出该控制器存在多项问题:未明确说明是否具备触控传感器功能;使用AA电池而非可充电电池设计;缺乏三星标志性的S Pen手写笔功能;在发布会中未进行现场演示且规格说明不详细。与同价位的Meta Quest Touch Pro控制器相比,Galaxy XR控制器在功能上显得不足,被认为定价过高。文章质疑三星未能充分展示控制器的先进功能,导致其看起来既不成熟又定价不合理。
◐ 与谷歌,Warby Parker和Gentle Monster合作,三星官宣AI眼镜计划

三星公司在发布Galaxy XR头显的同时,宣布了AI智能眼镜的开发计划。该计划将与谷歌以及知名时尚眼镜品牌Warby Parker和Gentle Monster合作,旨在将AI原生技术与时尚设计相结合,打造具备舒适佩戴感和实用功能的智能眼镜。据韩国媒体报道,带屏智能眼镜可能于2026年初亮相,预计将在用户视场显示数字内容,并通过内置扬声器提供音频,同时注重人体工学设计和动作识别功能。该设备将接入Android XR生态系统,实现XR能力与日常生活的融合。

据彭博社报道,苹果公司已将搭载M5芯片并配备双圈编织头带的新款Apple Vision Pro的生产组装工作转移至越南。虽然苹果仍与中国供应链保持深度合作,但近年来持续推进产业链向东南亚地区转移。初代搭载M2芯片的Vision Pro最初由立讯精密在中国生产,而新款M5版本则改为在越南制造。报道同时指出,苹果即将推出的智能家居设备系列(包括智能家居显示屏、室内安全摄像头和桌面机器人)也将在越南生产。此外,iPhone 17系列在美国销售的大部分机型将由印度生产,2025年印度占全球iPhone出货量已达26%,泰国和马来西亚等地也开始参与苹果高端产品的制造。

苹果公司为配合M5版Apple Vision Pro的发布,推出了第二代开发者头带配件。该配件专为开发者设计,可与Vision Pro的右耳音频支架替换使用,主要提升在于数据传输速度的大幅提高——从第一代的最高480 Mbps USB 2.0速率提升至最高20 Gbps,旨在加速图形密集型应用和游戏的开发。新款头带外观设计与前代几乎相同,并保持相同的音频体验,同时兼容M2版Apple Vision Pro,但其在该设备上的数据传输速率尚不确定。该配件售价299美元,仅面向注册开发者提供。
◐ PICO视频本周上新:立体少女日常、灵长类动物互动和太空探索体验

PICO视频平台于10月24日至26日期间推出三大主题新内容,包括立体少女日常、灵长类动物互动和太空探索体验。10月24日上线的《立体邂逅少女灵动瞬间》使用QooCam EGO 3D相机拍摄,立体呈现少女的俏皮互动和服装质感;10月25日的《灵长类动物日常》通过近距离拍摄展示动物梳理毛发、玩耍打闹等社会性行为;10月26日的《太空站之旅》则带领观众体验宇宙探索,呈现太空站穿梭多彩星球的奇幻场景。用户可通过PICO APP或一体机在视频专区预约观看,上新期间内容将在首页推荐,后期可通过搜索功能观看。
◐ Meta 分享:Quest App假日活动设计与推广策略指南

Meta通过Growth Insights平台为开发者提供假日活动设计与推广策略,旨在提升用户粘性、留存率和盈利。指南详细解析了成功假日活动的核心要素,包括限时主题道具、特殊游戏模式、任务奖励系统、货币礼包和赠品活动等。文章强调时机选择的重要性,建议通过预热和收尾小型活动管理玩家节奏,并以万圣节和圣诞节为例展示了主题设计、内容策划及变现策略的具体实施方案。该指南还指出,假日活动能同时为玩家提供新鲜体验,为开发者创造参与度和变现机会,并建议根据假日重要性分配资源,确保活动设计与玩家期望及文化特征相符。

谷歌通过Androidify应用案例详细介绍了如何将现有Android应用适配到XR环境。文章阐述了使用Jetpack XR SDK和Compose等现代开发工具构建沉浸式XR体验的全过程,包括设计思维转换(从2D平面到空间布局)、关键技术实现(SpatialPanel和Orbiter组件的使用)以及Play商店发布流程。案例显示,Androidify通过复用现有组件和自适应布局,在不修改核心代码的情况下实现了对XR设备的兼容,并在完整空间模式下通过空间化设计(如移除背景、添加锚点、动态效果)提升了用户体验。谷歌强调,XR适配无需单独发布,同一应用可同时覆盖移动端和XR设备用户,但可通过添加XR专属截图和沉浸式预览增强展示效果。

南京大学、商汤科技和苏黎世联邦理工学院团队提出了一种专为视频抠像模型设计的后训练量化框架PTQ4VM。该框架采用两阶段策略:首先通过块重建优化实现快速稳定的初始量化,随后进行全局仿射校准补偿批量归一化层引起的统计失真,并结合光流辅助组件利用时空先验信息指导量化过程。实验结果表明,PTQ4VM在4位量化下可实现8倍计算量节省的同时保持接近全精度模型的性能,在VM和D646数据集上各项指标均优于现有量化方法,特别是在W4A4设置下误差较次优方法降低约20%。

东京科学大学、大连理工大学和南京大学的研究团队针对视觉SLAM系统中计算密集的定向FAST特征检测提出了两种优化方法。通过二进制编码策略快速确定FAST候选特征点,显著减少了35%的全局内存加载和分支语句;采用半可分离Sobel算子和循环缓冲区加速哈里斯角点检测,并利用共享内存整合两个检测步骤以减少数据传输开销。在Jetson TX2嵌入式GPU上的实验表明,相比GPU版OpenCV实现了平均7.3倍的加速比,最高达到13倍加速,处理速度在1920×1080分辨率图像中达到55fps。该方法有效解决了移动平台因图像分辨率提升导致的实时处理瓶颈,为资源受限环境下的SLAM应用提供了高效解决方案。

微软公司提交了一项关于远程渲染系统中深度缓冲区压缩技术的专利申请。该技术通过将高动态范围(HDR)深度缓冲区分割为多个图块,为每个图块确定初始分段双线性边界函数,并采用迭代优化方法调整边界函数使其更接近原始深度数据。优化后的边界函数用于生成低动态范围(LDR)深度缓冲区和图块元数据,分别通过视频编码器和无损压缩器处理后传输至头显设备。该方法能在1毫秒内完成处理,比传统方法快1000倍,有效减少了深度数据传输延迟,同时保持较高的重建精度,解决了远程渲染中深度图像高质量传输的难题。

谷歌公司提交了一项针对头戴式显示器的色彩校准系统专利,旨在解决波导显示器在不同瞳孔位置存在的色彩不均匀性问题。该系统通过在可见光谱中嵌入用户难以察觉的标记,利用低功耗传感器检测用户眼睛反射的标记来实时追踪瞳孔位置,并结合波导效率图数据动态调整Micro LED子像素的驱动电流。相较于传统固化的色彩平衡方法,该技术能够根据用户当前注视区域进行精准校准,在降低能耗的同时提升特定瞳孔位置的色彩均匀性和视觉体验。

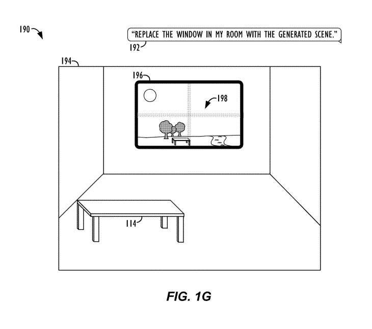
苹果公司提交了一项名为”可渲染场景图”的专利申请,提出了一种结合语言理解模型和生成式AI技术来创建和修改虚拟现实及扩展现实环境的方法。该系统能够通过解析用户的文本或语音输入(如”生成日落时分有小溪和树林的场景”),自动确定需要添加的3D组件及其空间属性,并构建可渲染场景图。用户可进一步通过自然语言指令(如”让树变小些”)对场景中的单个3D组件进行精细化修改,系统会直接调整底层场景图而非仅修改像素,从而提供更灵活的环境创作控制。该技术旨在简化VR/XR内容创作流程,支持参数化和非参数化3D组件表示,并可实现物理环境与虚拟场景的智能融合。
◐ 小派科技携Crystal Super亮相第七届VR/AR产业博览会,引领VR视觉体验新高度

小派科技在第七届VR/AR产业博览会上展示了旗舰产品Crystal Super头显,该设备凭借50PPD视网膜级分辨率、2950万像素显示效果和90Hz刷新率等技术特性,在运动健身、赛车训练、虚拟旅游等场景中提供了沉浸式体验。展会期间,小派科技荣获”2025中国VR 50强企业”称号,并与江西本地企业探讨了在教育培训、工业制造等领域的合作可能。此次参展体现了VR与AI技术融合的趋势,也展示了中国VR企业在全球市场的竞争力。

