映维日报:CNET评测M5版Vision Pro面临生态挑战,智能眼镜Sesame获2.5亿美元B轮融资
本日报由AI生成,可能存在信息错误,具体可查看原文。

◐ Oculus创始人新公司Sesame获2.5亿美元B轮融资,聚焦语音交互与智能眼镜

由Oculus创始人布伦丹·艾瑞比创立的Sesame公司完成2.5亿美元B轮融资,红杉资本领投。该公司成立于2023年,专注于通过自然语音交互优化人机体验,产品包括个人语音伴侣和轻量级智能眼镜。团队汇聚多位AR/VR领域资深高管,如Oculus联合创始人内特·米切尔、Meta前技术总监等。其智能眼镜将配备AI伴侣和高品质音频系统,设计注重时尚性,但具体发布时间尚未公布。
◐ CNET评测:搭载M5芯片的新款Apple Vision Pro仍面临重量、价格与应用生态挑战

CNET记者对搭载M5芯片的新款Apple Vision Pro进行体验评测,指出其虽在性能(渲染速度提升10%、120Hz动态刷新率)和舒适性(新增双圈编织头带)上有改进,但核心问题仍未解决:头显重量增至726克(比前代增加141克),3500美元的高昂售价未调整,应用生态发展滞后(缺乏原生3D创作工具、苹果自家应用未适配)。尽管手势追踪、虚拟化身(Persona)及PSVR2控制器支持有所优化,但视场狭窄、输入方式不完善(依赖实体键盘)、设备间协作缺失(无法与iPhone/iPad无缝联动)等问题限制了体验。评测认为Vision Pro仍是“第一代产品”,需向轻量化眼镜形态演进,并加速完善应用生态与跨设备整合。
◐ 腾讯多媒体实验室牵头完成IEEE P3366.1点云压缩标准制定

IEEE电气电子工程师学会宣布已完成IEEE P3366.1点云压缩标准的制定,该标准是面向体积数据压缩的IEEE 3366系列中的首个完成标准。该标准主要由腾讯多媒体实验室牵头并作为核心技术贡献者推动,旨在实现真实3D点云压缩技术的标准化,以解决在带宽受限网络中传输海量点云数据及在存储受限的消费设备上处理此类数据的关键问题。标准制定由IEEE DCSC的体积数据压缩工作组完成,通过高效压缩技术标准化有助于提升点云数据的系统兼容性与可用性,推动其在虚拟现实、增强现实等沉浸式应用中的普及。

台湾民主自治同盟(台盟)中央在北京举办第十二届大江论坛,主题为纪念台湾光复80周年。活动中通过PICO VR头显设备,利用VR大空间技术全景再现了台湾光复的历史历程,影片内容包含日本掠夺资源、武装抗日、文化抗日及光复欢庆四个部分。与会两岸同胞,包括多位长者,通过沉浸式体验感受历史氛围,有台湾参会者表示体验立体震撼,并强调两岸同属一中,应恢复正常沟通。
◐ 苹果与F1达成2026年起美国地区独家转播协议并探索AR与VR技术应用

据报道,苹果公司与F1达成一项为期五年的独家协议,从2026赛季开始将美国地区的F1赛事转播全部移至Apple TV平台。双方合作不仅改变赛事播出平台,更致力于提升观赛体验,计划借助苹果制作F1主题电影时使用的摄像及技术(如VR)优化转播水平。苹果高管提及将以电影作为技术整合的试验场,F1方面则表示将探索AR、VR等更多技术合作,同时苹果还发布了基于电影《F1:狂飙飞车》的Vision Pro沉浸式影片《F1: The Movie Hot Lap》,让用户体验模拟赛道驾驶。
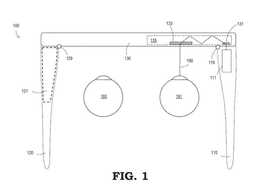
◐ Lumus专利申请非对称双目近眼显示系统提升AR/VR视觉体验

Lumus专利申请提出一种非对称双目近眼显示系统,通过使左右眼光学系统在鼻梁中心反射面上呈几何不对称布局,利用人脑视觉融合机制提升AR/VR设备的视觉性能。该系统通过三种方式实现不对称性:水平偏移投射单元与光学元件(图3)、仅偏移投射单元(图4)或仅偏移光学元件(图5),从而扩展有效眼动范围(EMB)或提高图像分辨率。具体而言,不对称设计可使合并EMB在水平或垂直方向扩大(如水平方向增加2倍偏移量),并通过错开左右眼低分辨率区域(图6-7)或优化微显示器位置针对不同视场区域(图8),使大脑优先选择各区域最高质量信息,最终实现合并图像分辨率提升和视觉舒适度增强。该技术兼容眼镜形态设备,在保持框架对称外观的同时突破传统对称光学系统的性能限制。

谷歌专利申请提出一种用于增强现实眼镜的波导结构创新方案,通过将出瞳扩展器(EPE)和耦出器(OC)分别置于两个重叠的独立基板上,解决传统单基板波导因空间限制导致的视场扩展难题。该设计在第一基板集成耦入器和EPE,在第二基板集成OC,两基板间插入低折射率分隔层(如气隙或偏振分束器)防止光路干扰,并通过反射面组实现光跨层定向传输。实验显示该结构允许EPE和OC各自独立扩展尺寸,从而将视场区域从常规10°×10°显著增大,且兼容眼镜形态的镜片空间约束,为AR/MR设备提供更大可视范围而不影响设备外形。
◐ 谷歌专利申请波导合束器偏转反射器技术优化AR眼镜光学布局

谷歌专利申请提出一种用于增强现实眼镜波导合束器的偏转反射器技术,通过引入偏移设置的反射刻面解耦耦入器(IC)与出瞳扩展器(EPE)的传统位置约束。该技术允许IC更灵活地定位在镜腿区域以适配光机放置,同时保持EPE位于镜片主体内兼容多种镜片形状尺寸。专利详细描述了包含偏转反射器的波导光路设计,该组件可补偿因多次反射导致的图像旋转,并支持光机位于用户眼睛同侧或对侧的两种配置。通过优化光学组件布局,该方案解决了传统波导合束器在眼镜形态设备中面临的空间限制问题,为AR眼镜设计提供更高自由度。

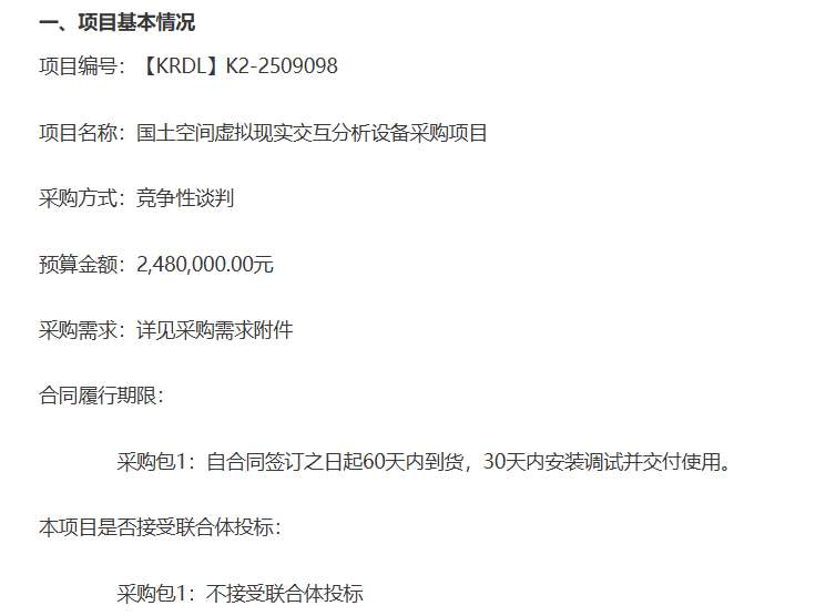
西北大学通过竞争性谈判方式采购国土空间虚拟现实交互分析设备,项目预算金额248万元,要求供应商在合同签订后60天内到货、30天内安装调试交付。该项目专门面向中小企业采购,潜在供应商需于2025年10月29日09时30分前通过陕西省政府采购综合管理平台项目电子化交易系统提交响应文件。

广东职业技术学院发布公开招标公告,计划以170.584万元预算采购新一代信息技术虚拟现实实训基地VR虚拟现实应用实训室项目,要求合同签订后30天内完成供货安装调试,该项目专门面向中小企业采购,投标截止时间为2025年11月11日9时30分,潜在投标人需通过广东省政府采购网获取招标文件并提交投标材料。


