2026年04月11日美国专利局新申请AR/VR专利摘选
文章相关引用及参考:映维网Nweon
一共更新了34篇专利。
(映维网Nweon 2026年04月11日)近期美国专利及商标局公布了一批全新的AR/VR专利,以下是映维网的整理(详情请点击专利标题),一共34篇。更多专利披露请访问映维网专利板块https://patent.nweon.com/进行检索,你同时可以加入映维网AR/VR专利交流微信群(详见文末)。
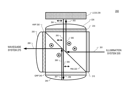
1. 《Meta Patent:Compensation for liquid crystal on silicon displays(Meta专利:硅基液晶显示屏的补偿技术)》

在一个实施例中,LCOS硅基液晶系统包括照明模块、LCOS和LCOS补偿器。照明模块配置为产生照明光。LCOS配置为接收照明光并将照明光调制为显示光。LCOS补偿器的慢轴可能在-33度和-77度之间对齐。LCOS补偿器配置为接收照明光和显示光。

......(全文 6105 字,剩余 5832 字)
请微信扫码通过小程序阅读完整文章或者登入网站阅读完整文章
映维网会员可直接登入网站阅读
PICO员工可联系映维网免费获取权限

