苹果XR专利提出基于天线阻抗感测的手势识别方法
提升用户体验并扩展天线在交互功能的复用价值
(映维网Nweon 2026年01月26日)对于小型可穿戴设备的手势输入检测,传统电容传感器占用空间大、响应延迟高的问题。所以在一份专利申请中,苹果提出利用设备原有天线的阻抗变化来检测用户手势输入。通过省去专用传感器,这可以实现更紧凑的设计和更低延迟的手势识别,从而提升用户体验并扩展天线在交互功能的复用价值。

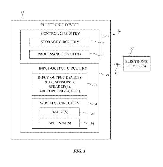
图1的电子设备10可以是计算设备,例如嵌入在眼镜中或用户佩戴在头上的其他设备。设备10可以包括控制电路14和天线30。天线30可以使用任何所需的天线结构形成。可以调整滤波器电路、开关电路、阻抗匹配电路和/或其他天线调谐部件,以随时间调整天线30的频率响应和无线性能。
无线电设备26中的收发器电路可以使用一个或多个天线30传送射频信号。天线30可以通过将射频信号辐射到自由空间来发射射频信号。天线30另外地或替代地可以从自由空间接收射频信号。天线30对射频信号的发射和接收都涉及天线在其工作频带内的射频信号对天线谐振元件上的天线电流的激励或谐振。
......(全文 6556 字,剩余 6153 字)
请微信扫码通过小程序阅读完整文章或者登入网站阅读完整文章
映维网会员可直接登入网站阅读
PICO员工可联系映维网免费获取权限

