映维日报:苹果提出基于头部倾斜调整VR叠加内容视差,Snap提出波导亮度均匀化光学
本日报由AI生成,可能存在信息错误,具体可查看原文。


Snap提出了一种新型波导光学设计方案,旨在解决AR眼镜中因光路单一导致的图像中心亮度不均问题。该技术通过在波导中设置多路径光路系统,包括输入衍射元件、转向衍射元件和输出衍射元件,使入射光被分束后沿不同路径传输并在输出端重叠,从而消除传统设计中常见的中心高亮带或低亮带现象。方案特别采用闪耀光栅和阶梯状矩形元件网格结构来精确控制光路方向,实现多束光在输出端的均匀混合,提升AR显示图像的整体亮度和视觉舒适度。

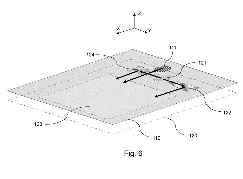
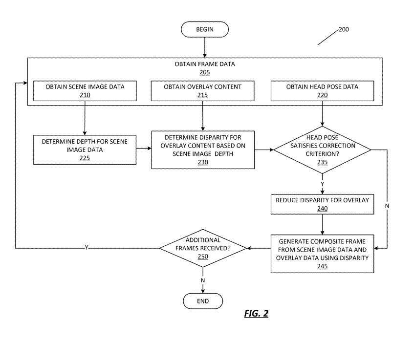
苹果提出了一种针对头戴式显示设备的动态视差调整技术,该技术能够根据用户头部倾斜角度实时调整3D场景中叠加内容(如字幕、界面元素)的视差效果。当检测到用户头部倾斜时,系统通过减小叠加内容与底层场景之间的深度间隙,并引入垂直视差分量来补偿头部姿态变化,从而有效消除因视差轴线与双眼轴线错位导致的图像模糊和重影问题。该方案通过六自由度传感器获取头部姿态数据,结合场景深度分析实现叠加内容的动态优化渲染,显著提升了倾斜状态下VR内容的视觉舒适度和清晰度。

为纪念巴塞罗那地铁运营一百周年,西班牙企业Grupo Lavinia联合技术合作伙伴推出基于PICO VR头显的多人沉浸式体验项目。该项目通过虚拟现实技术带领参与者穿越地铁系统的历史、现在与未来,旨在以创新形式传播城市文化。体验设计注重可及性与共享性,自推出后受到各年龄层观众欢迎,展现了XR技术在公共文化空间中的应用潜力。

一项由职业治疗学副教授亚历克斯·洛佩斯主导的研究表明,虚拟现实技术能有效激励自闭症谱系障碍儿童和青少年参与体育锻炼。研究通过对比11名参与者佩戴VR头显进行《Beat Saber》游戏与无VR的跑步机测试发现,VR锻炼实际能量消耗高出9%-12%,但参与者主观疲劳感并未增加,耐受度反而提升。研究人员认为VR的分散注意力作用、新奇性及认知运动双重任务效应是可能原因,建议将VR整合至自闭症儿童的运动干预方案中以增强动力和参与感。
◐ 中国电信巨头齐押注,雷鸟创新融资超10亿,并发布首款支持eSIM的AR眼镜

雷鸟创新宣布完成超10亿元新一轮融资,由中国移动链长基金和中信金石领投,中国联通旗下基金等共同参与,这是中国主流运营商首次共同投资智能眼镜赛道。公司已与运营商签署长期战略合作协议,将推出“充话费送眼镜”的普及模式,并发布首款集成eSIM和4G连接的AR眼镜概念机RayNeo X3 Pro – Project eSIM。雷鸟创新预计2026年海外收入将超过国内,加速全球化布局。

VRChat在2025年至2026年的跨年夜期间同时在线用户数突破历史记录,峰值接近15万人。社区负责人公布了美国四大时区的详细数据,其中中部时区最高达148,886人。数据显示VRChat在普通周末的峰值约为12万至12.5万人,此次跨年活动参与度显著提升。文章提及Bigscreen Beyond 2等轻量头显的推广可能进一步推动VR社交参与度,并对比了虚拟跨年与传统线下庆祝的体验差异。


