映维日报:苹果提出多用户XR会话Avatar空间模式,谷歌提出惯性声学VR手势识别
本日报由AI生成,可能存在信息错误,具体可查看原文。


苹果提出了一种名为”Avatar空间模式”的技术方案,旨在解决多用户XR通信会话中不同设备间空间表示不一致的问题。该方案提供两种主要模式:房间规模模式(完整映射远程用户动作以保持空间真实感)和静止模式(以静态头像贴图呈现远程用户以降低设备负载)。通过这种灵活的模式选择,用户可以根据设备性能和交互需求,在保持空间一致性和优化性能之间取得平衡,从而提升多用户XR协作体验的质量和稳定性。

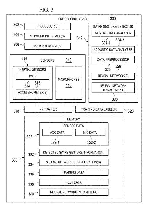
谷歌提出了一种新型VR手势识别技术,通过结合惯性传感器(如加速度计)和声学传感器(如麦克风)的数据,并利用机器学习模型进行分析,实现更高效、准确且低功耗的滑动手势检测。该技术能够有效区分有意手势和意外接触,提高识别准确性和可靠性,同时减少误报率。相比传统触控或摄像头手势识别方案,该技术具有环境适应性强、功耗低、隐私性好等优势,并支持在各种环境条件下保持稳定性能,为近眼显示系统提供了更自然、可靠的交互方式。
◐ 上海静安推出基于PICO头显的VR音乐电影《摇啊摇·1995》

文章介绍了上海静安区推出的全国首部融合海派情怀与沉浸式科技的VR音乐电影《摇啊摇·1995》。这部作品以1995年的上海为背景,通过VR技术让佩戴PICO头显的观众回到当时的石库门弄堂,体验地铁通车、申花夺冠等时代场景,并结合原创音乐与角色故事,再现了城市记忆与烟火气。影片推出普通话、沪语和英语三个版本,是静安区推动数字文创产业发展的重要文化项目。主创团队计划在明年推出续集,并与更多商业场景进行数字联动。

意大利研究人员利用虚拟现实技术让36名年轻男性参与者化身女性虚拟形象,在地铁站场景中体验言语骚扰。研究结果显示,遭受骚扰的参与者报告了强烈的厌恶和愤怒情绪,反映了道德谴责和共情反应。相比控制组,经历骚扰的小组恐惧水平相似,表明夜间独自在车站的情境本身已引发不安。研究人员认为虚拟现实可作为增强情感敏感性的有效工具,在临床和教育场景中帮助展示骚扰行为的负面影响。

文章介绍了一款名为“BetterVR”的非官方Mod,该Mod由开发者Crementif制作,旨在为通过Cemu模拟器运行的Wii U版《塞尔达传说:荒野之息》添加完整的立体渲染和六自由度VR支持,包括手部交互功能。Mod计划于12月30日作为开源项目免费发布,但需要用户自行拥有游戏合法副本,且目前对AMD显卡支持存在限制。开发者指出,由于模拟器对CPU的高负载,游戏性能将不如原生VR作品,但通过帧率插值技术可在推荐配置下实现可玩体验,同时承认Mod初期会存在一些瑕疵。

