2025年12月20日美国专利局新申请AR/VR专利摘选
文章相关引用及参考:映维网Nweon
一共更新了41篇专利。
(映维网Nweon 2025年12月20日)近期美国专利及商标局公布了一批全新的AR/VR专利,以下是映维网的整理(详情请点击专利标题),一共41篇。更多专利披露请访问映维网专利板块https://patent.nweon.com/进行检索,你同时可以加入映维网AR/VR专利交流微信群(详见文末)。
1. 《Meta Patent:Interaction initiation by a virtual assistant(Meta专利:启动虚拟助手交互)》

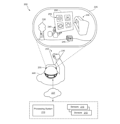
在一个实施例中,分析来自扩展现实环境的上下文线索,并基于对上下文线索的分析,通过虚拟助手将定制的数字信息直观地叠加和集成到人工现实环境中,以推荐和引导用户采取建议的行动。从用户获得输入数据,生成从输入数据中提取的对象、属性和对象之间关系的图形,基于图形和与用户相关联的简档确定要呈现、发起或执行的一个或多个交互,基于一个或更多个交互确定用于呈现虚拟内容的虚拟内容数据,以及基于虚拟内容数据在向用户显示的扩展现实环境中呈现虚拟内容。虚拟内容用于为用户呈现、发起或执行一个或多个交互。
......(全文 8312 字,剩余 7949 字)
请微信扫码通过小程序阅读完整文章或者登入网站阅读完整文章
映维网会员可直接登入网站阅读
PICO员工可联系映维网免费获取权限

