映维日报:Meta Ray-Ban Display上手评测,德国科学家研发300×300纳米发光像素
本日报由AI生成,可能存在信息错误,具体可查看原文。

◐ Meta Ray-Ban Display评测,体验“后手机时代”的初代答案

本文基于大卫·希尼对Meta Ray-Ban Display智能眼镜为期一个月的实际使用体验,详细评估了该设备的各项特性。评测指出,眼镜在物理佩戴舒适度、显示屏清晰度、通过Meta Neural Band腕带实现的手势控制以及特定场景下的实用性(如第一人称视角拍照、消息筛选、步行导航和实时翻译)方面表现良好。然而,设备也存在明显局限:单目显示屏可能引起视觉疲劳,社交接受度因其笨重外观而受限,功能严重依赖手机蓝牙连接导致延迟,且缺乏对Gmail、谷歌地图等成熟服务的集成。最终结论认为,这是一款具有潜力但尚不成熟的第一代产品,主要适合追求新技术的早期使用者,普通消费者则建议等待未来具备双目显示和蜂窝网络连接的迭代版本。
◐ 德国科学家研发300×300纳米发光像素,解锁超紧凑型可穿戴显示新可能

德国维尔茨堡大学物理学家团队利用光学天线技术成功研制出尺寸仅300×300纳米的全球最小发光像素,其亮度与常规5×5微米OLED像素相当。该技术通过在黄金光学天线上方添加特制绝缘层并预留200纳米圆形开口,有效解决了纳米尺度下电流分布不均导致的材料迁移和短路问题,使像素在室温下稳定运行两周。这一突破使得1920×1080分辨率显示屏可集成于1平方毫米区域内,为智能眼镜镜腿嵌入式显示及可穿戴设备超紧凑投影系统奠定基础。团队下一步计划将当前1%的光电效率进一步提升,并扩展至全彩RGB色域。

罗切斯特大学研究团队设计了一种基于超表面技术的新型三区耦入器,通过替代传统单一波导结构,将AR眼镜的图像输入效率提升至平均30%。该技术利用纳米级超表面图案分别优化光捕获、防回漏及光形保持功能,在-10°至10°水平视场内实现高图像质量与能效平衡。目前原型仅支持单色(绿光)演示,下一步将扩展至全彩系统并开发低成本量产工艺,为轻量化、高亮度AR眼镜的实用化奠定基础。

日本早稻田大学与京都府立医科大学的研究团队设计了一种集成超小型摄像头的VR头显,通过实时观察14名健康参与者在30分钟VR游戏过程中的泪膜脂质层干涉图案,发现泪膜脂质层厚度随使用时间显著增加,同时角膜和上眼睑温度升高。研究认为,头显内部的热环境可能促进脂质层增厚,而此前研究已表明脂质层增厚与泪膜稳定性增强相关。该发现为VR头显设计提供了潜在优化方向,但需进一步研究验证其对干眼症患者的影响,且本次实验未设置非头显使用对照组。
◐ 第一视角跃上尼米兹号航母,苹果沉浸式新作让用户与F-18飞行员并肩飞行

苹果公司为纪念美国退伍军人节推出名为《Flight Ready》的14分钟沉浸式影片,通过Apple Vision Pro头显呈现尼米兹号航空母舰飞行甲板与F-18战斗机飞行员协同作战的体验。该片延续2024年海底主题影片《Submerged》的技术路线,利用空间视频拍摄与编辑工具(如DaVinci Resolve Studio)制作,目前仅支持Vision Pro设备观看,暂未推出2D版本。此举反映苹果持续拓展沉浸式内容生态,同时借助军事题材强化设备在特种场景的应用价值。
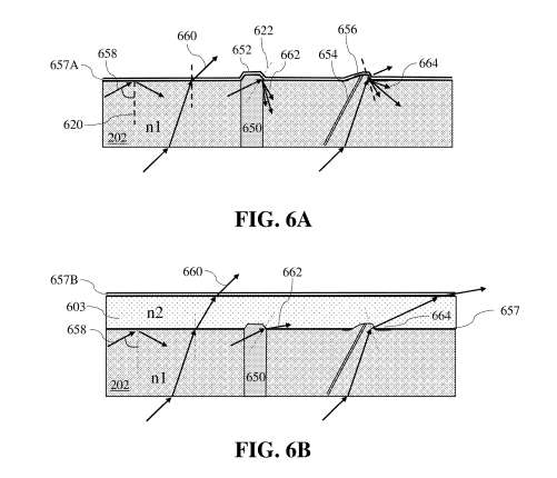
◐ Lumus专利提出复合聚合物光导结构解决XR设备粘接热膨胀问题

Lumus公司在一项专利申请中提出采用多层复合聚合物结构解决XR设备中光导元件与保护性透明板(如聚碳酸酯板)因材料热膨胀系数差异导致的粘接层易断裂、光散射及全内反射失效问题。该技术通过分离功能层设计:内层使用超薄(1-2微米)低折射率聚合物维持光导内全内反射,外层采用高柔韧性聚合物(如13微米厚)吸收热膨胀差产生的机械应力,同时通过预集成堆叠工艺实现各层协同固化。实测显示该结构可将相对热膨胀从单层粘合剂的29微米降至多层体系的更低值,显著减少散射光干扰并提升光学稳定性,为XR显示模组的机械可靠性和图像质量提供保障。

Varjo公司在一项专利申请中提出了一种动态可控光导系统,通过实时眼球追踪技术结合可独立控制的导光段,将光源像素组的光线精确聚焦至用户瞳孔。该技术解决了XR头显在近距离显示时因视角微小变化导致的光线散射、反射及视觉伪影问题。系统包含注视追踪装置、多像素光源、分段落光导及处理器,处理器根据瞳孔位置、注视方向和取向动态调整导光段,实现光线精准导向,有效提升图像清晰度、色彩还原度并抑制重影。该方案还可通过识别远离注视点的像素组并将其光线导向透镜中心或吸收涂层,进一步减少光学腔内的杂散反射和衍射,为沉浸式XR体验提供核心光学支撑。
◐ 江西省工业和信息化厅50万元采购VR+频谱地图数据分析服务

江西省工业和信息化厅发布竞争性磋商公告,计划以50万元预算采购VR+频谱地图数据分析和场景试点服务。该项目不接受联合体投标,要求供应商满足《政府采购法》第二十二条规定的基本资格条件,并落实促进中小企业发展等政府采购政策。潜在投标人需通过江西省公共资源数智交易平台获取招标文件,并于2025年11月24日9点30分前通过”不见面开标”系统提交响应文件。采购公告期限为自发布之日起3个工作日。

天津中德应用技术大学计划以110万元预算采购精益数字化与柔性智能制造AR仿真模拟平台,该项目专门面向中小企业采购,要求投标人满足政府采购法相关规定并在2025年12月1日前提交投标文件,设备需于2026年4月15日前完成安装调试。

四川观察合创新媒体发展有限公司发布采购公告,计划以49万元预算采购2025年度VR内容生产设备,项目资金来源于企业自筹。该项目采用公开招标方式,要求投标人具备独立法人资格、良好商业信誉及履行合同所需的技术能力,且不接受联合体投标。供应商需通过现场或邮件方式支付500元获取招标文件,并于2025年11月21日10时前递交纸质投标材料至成都代理机构。开标将于同日同地举行,项目全程由招标人自行监督。


