Lumus提出部分内反射矩形光导结构简化AR眼镜制造
将主要的光束扩展功能转移到一个结构简单、易于批量生产的矩形玻璃块(PRLG),仅通过一个特殊涂层让光“泄漏”出来,再通过外部的一组反射面进行引导
(映维网Nweon 2025年11月11日)AR眼镜等近眼显示设备需要将图像放大并投射到人眼,而传统方法依赖在玻璃内部雕刻大量精密反射面,工艺复杂、良率低、成本高,在小型化、制造成本和图像质量之间难以兼顾。在一份专利申请中,Lumus提出了一种“部分内反射矩形光导(PRLG)” 结合外部反射面的设计,通过将主要的光束扩展功能转移到一个结构简单、易于批量生产的矩形玻璃块(PRLG),仅通过一个特殊涂层让光“泄漏”出来,再通过外部的一组反射面进行引导,从而在保证性能的同时,大幅降低了制造难度和成本。
从概念上讲,PRLG是一种矩形光导,它不依赖于嵌入式小面来耦合出图像光束,而是在光导的一个主表面上使用部分反射器,使得光束在沿光导长度传播时能够逐渐发射(”泄漏”)。发射光束的方向是内部光束路径的延续,沿着路径,它们入射到部分反射主表面上(由于材料折射率的差异可以发生任何折射偏转,但没有衍射)。在相邻光导中提供了一组辅助的嵌入式部分反射表面,以便重定向发射的光,使其在光导或相邻光导内传播,朝向耦出装置。

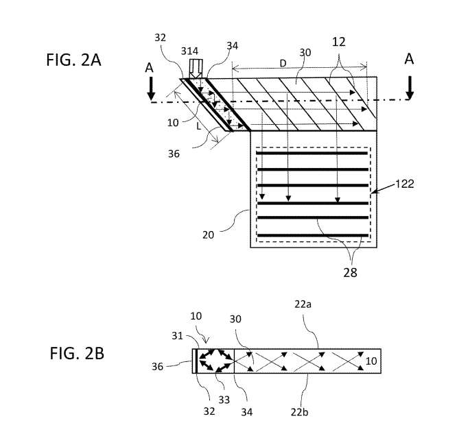
如图2A和2B所示,PRLG 10由透明材料形成,并具有第一和第二相互平行的主表面31和33,以及垂直于第一和第二主表面的第三主表面32,其中第一、第二和第三主表面在一定入射角范围内支持内反射,例如通过全内反射(TIR)或通过提供反射涂层。矩形横截面形状由平行于第三主表面32的第四主表面34完成。第四主表面34的至少一部分(优选全部)设有非衍射性部分反射涂层。
......(全文 8144 字,剩余 7543 字)
请微信扫码通过小程序阅读完整文章或者登入网站阅读完整文章
映维网会员可直接登入网站阅读
PICO员工可联系映维网免费获取权限


