Vuzix提出双折射率波导结构优化AR眼镜色彩表现
双折射率波导堆栈
(映维网Nweon 2025年11月11日)增强现眼镜需要用光波导将图像传入人眼。传统方案是堆叠三层波导分别处理红、绿、蓝三色光,但这会导致设备笨重、结构复杂,且蓝色光在高折射率材料中容易衰减或散射,影响图像亮度和质量。
在一份专利申请中,Vuzix提出了一种双波导结构:用一个低折射率波导专门高效传输易衰减的蓝光,用另一个高折射率波导同时传输绿光和红光。这样既减少了波导层数、简化了结构、减轻了重量,又显著提升了蓝色通道的亮度和整个图像的色彩表现力。

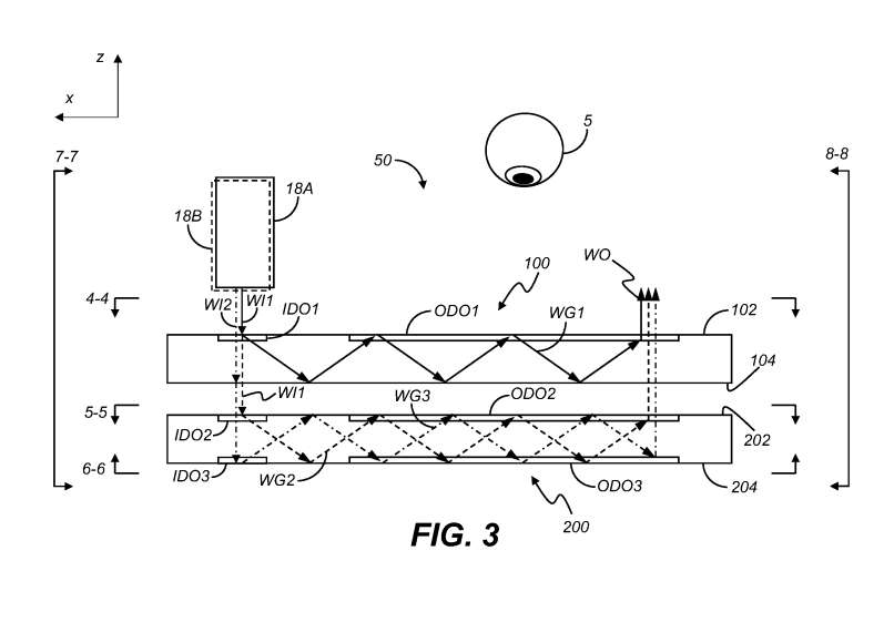
图3显示了具有多个耦合衍射光学器件的堆叠波导的侧视图。图像光导系统50包括第一平面波导100,波导具有第一表面102和第二表面104。波导第一表面102通常与波导第二表面104平行设置。第一耦入衍射光学元件IDO1位于第一表面102或第二表面104上、内或与之接合。另外,第一耦出衍射光学元件ODO1形成于第一表面102或第二表面104上、内或与之接合。在一个示例性实施例中,出耦合衍射光学元件ODO1、ODO2各自是衍射光栅。在另一个示例性实施例中,出耦合衍射光学元件ODO1、ODO2各自是全息衍射元件。
......(全文 4522 字,剩余 4125 字)
请微信扫码通过小程序阅读完整文章或者登入网站阅读完整文章
映维网会员可直接登入网站阅读
PICO员工可联系映维网免费获取权限


