2025年10月11日美国专利局新申请AR/VR专利摘选
文章相关引用及参考:映维网Nweon
一共更新了40篇专利。
(映维网Nweon 2025年10月11日)近期美国专利及商标局公布了一批全新的AR/VR专利,以下是映维网的整理(详情请点击专利标题),一共40篇。更多专利披露请访问映维网专利板块https://patent.nweon.com/进行检索,你同时可以加入映维网AR/VR专利交流微信群(详见文末)。

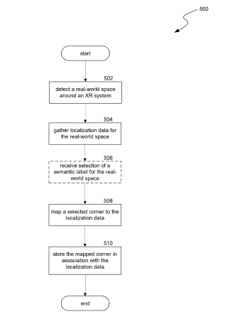
在一个实施例中,如果用户进入房间并且定位失败,系统可以定位在之前的定位中指定的角落。角可以由用户手动选择,也或可以由XR系统自动推荐。在一个实施例中,用户或系统可以识别房间中的两个相邻角落以获得更高的准确性。通过稍后选择角进行定位,XR系统可以使用深度传感器识别保存的房间,角的识别比其他识别墙壁的方法更可靠和可检测。
......(全文 7367 字,剩余 7066 字)
请微信扫码通过小程序阅读完整文章或者登入网站阅读完整文章
映维网会员可直接登入网站阅读
PICO员工可联系映维网免费获取权限


